EasyManua.ls Logo

Dyna-Glo DGP552SSN - Page 37

Dyna-Glo DGP552SSN
87 pages
Print Icon
To Next Page IconTo Next Page
To Next Page IconTo Next Page
To Previous Page IconTo Previous Page
To Previous Page IconTo Previous Page
Loading...
37
INSTRUCTIONS D’ASSEMBLAGE
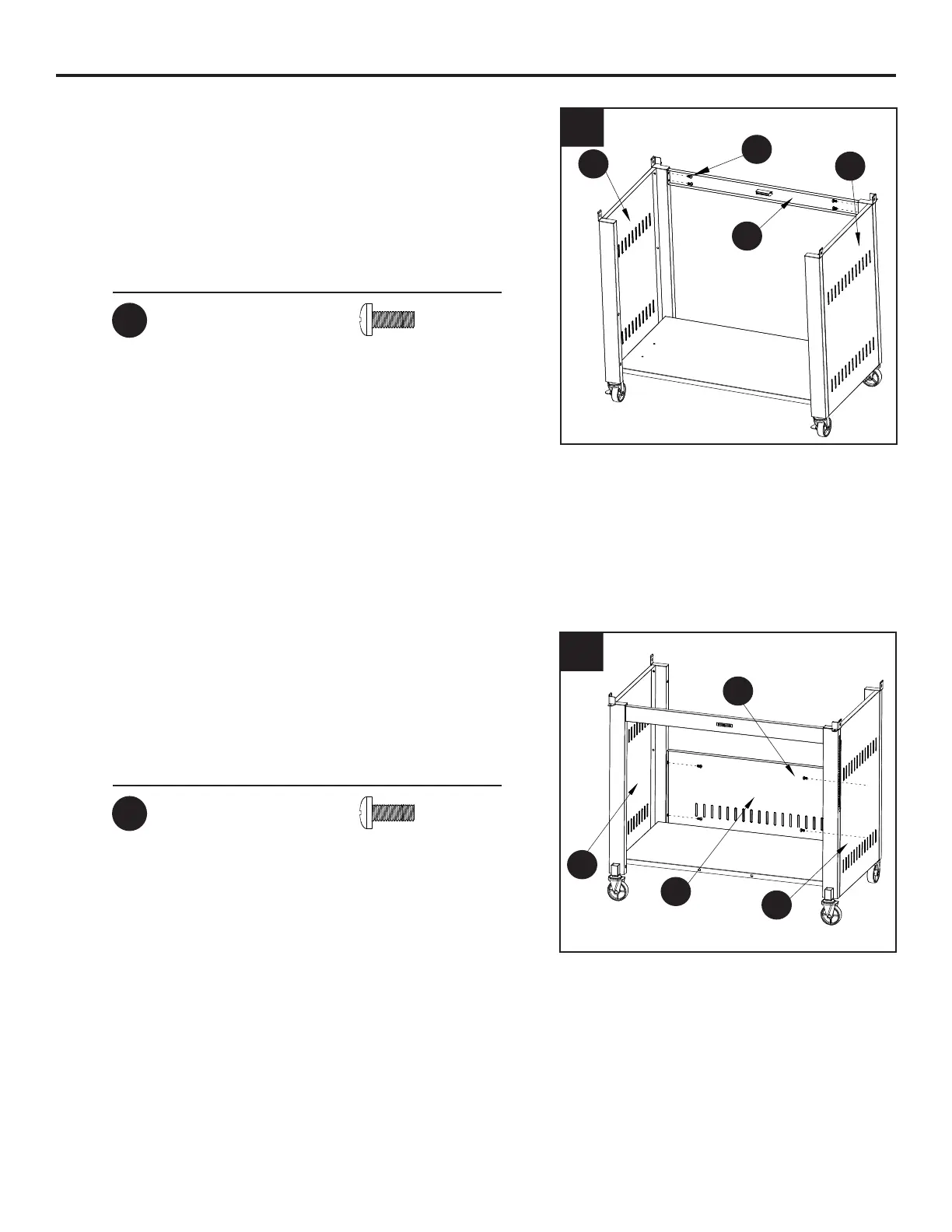
 )L[H]OHVXSSRUWVXSpULHXUGHSRUWH<DXSDQQHDX
JDXFKH3HWDXSDQQHDXGURLW/GXFKDULRWDYHF
TXDWUHERXORQV0[PP$$
 )L[H]OHSDQQHDXDUULqUHGXFKDULRW=DXSDQQHDX
JDXFKH3HWDXSDQQHDXGURLW/GXFKDULRWDYHF
TXDWUHERXORQV0[PP$$
Matériel utilisé
Matériel utilisé
AA
AA
Boulon M6x16mm
Boulon M6x16mm
x4
x4
3
4
L
AA
P
P
Z
L
Y
AA

Related product manuals