EasyManua.ls Logo

Dyna-Glo DGP552SSP - Page 39

Dyna-Glo DGP552SSP
93 pages
Print Icon
To Next Page IconTo Next Page
To Next Page IconTo Next Page
To Previous Page IconTo Previous Page
To Previous Page IconTo Previous Page
Loading...
39
Z
AA
L
P
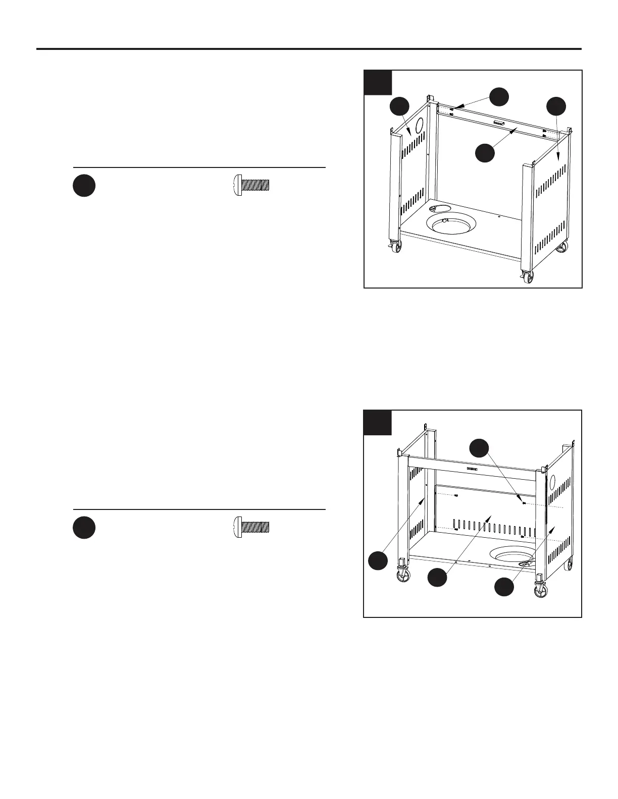
INSTRUCTIONS D’ASSEMBLAGE
3. Fixez le support supérieur de porte (Y) au panneau
gauche (P) et au panneau droit (L) du chariot avec
TXDWUHERXORQV0[PP$$
 )L[H]OHSDQQHDXDUULqUHGXFKDULRW=DXSDQQHDX
gauche (P) et au panneau droit (L) du chariot avec
TXDWUHERXORQV0[PP$$
3
4
Matériel utilisé
Matériel utilisé
AA
AA
Boulon M6 x 16 mm
Boulon M6 x 16 mm
x 4
x 4
Y
AA
P
L
L
AA
P
P
Z
L
Y
AA

Related product manuals