EasyManua.ls Logo

Dyna-Glo DGP552SSP - Page 72

Dyna-Glo DGP552SSP
93 pages
Print Icon
To Next Page IconTo Next Page
To Next Page IconTo Next Page
To Previous Page IconTo Previous Page
To Previous Page IconTo Previous Page
Loading...
72
K
Q
O
L
P
J
AA
K
Q
INSTRUCCIONES DE ENSAMBLAJE
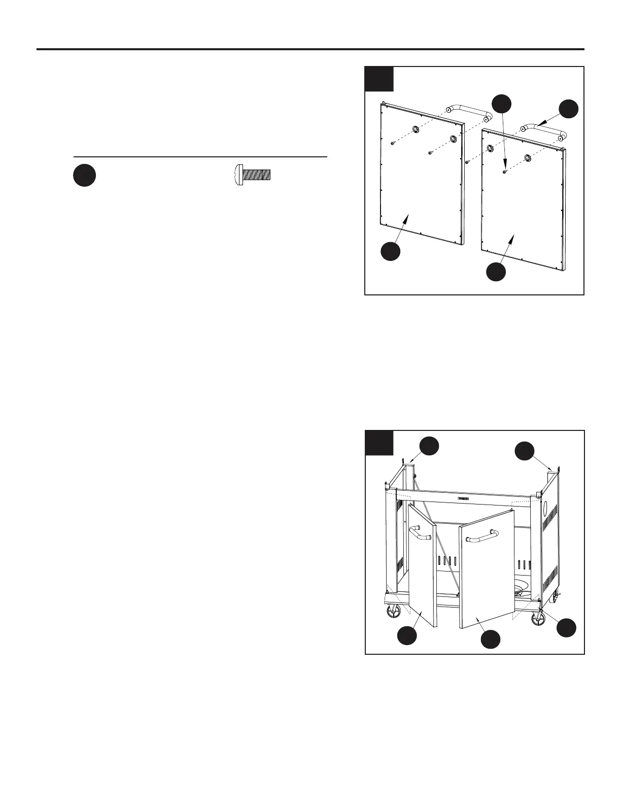
8. Inserte el pasador de la bisagra inferior del
conjunto del panel del borde inferior (O) en el
RUL¿FLRLQIHULRUGHOFRQMXQWRGHODSXHUWDL]TXLHUGD
(Q), luego presione el resorte del pasador de la
ELVDJUDHQHORUL¿FLRGHOFRQMXQWRGHOSDQHOGHO
ODGRL]TXLHUGRGHOFDUUR3FRPRVHPXHVWUDHQ
OD¿JXUD
Repita lo anterior con el conjunto de la puerta
derecha (K).
7. Fije la manija de la puerta (J) al conjunto de la
SXHUWDL]TXLHUGD4\DOFRQMXQWRGHODSXHUWD
derecha(K) con cuatro pernos M6 × 16 (AA).
7
8
Herramientas y tornillería utilizadas
AA
Pernos M6 × 16
× 4
J
K
Q
Q
K
O
L
P
AA

Related product manuals