EasyManua.ls Logo

Dynapac CP2100 - Page 50

Dynapac CP2100
113 pages
Print Icon
To Next Page IconTo Next Page
To Next Page IconTo Next Page
To Previous Page IconTo Previous Page
To Previous Page IconTo Previous Page
Loading...
Operation
46 4812325555EN 2018-02-08
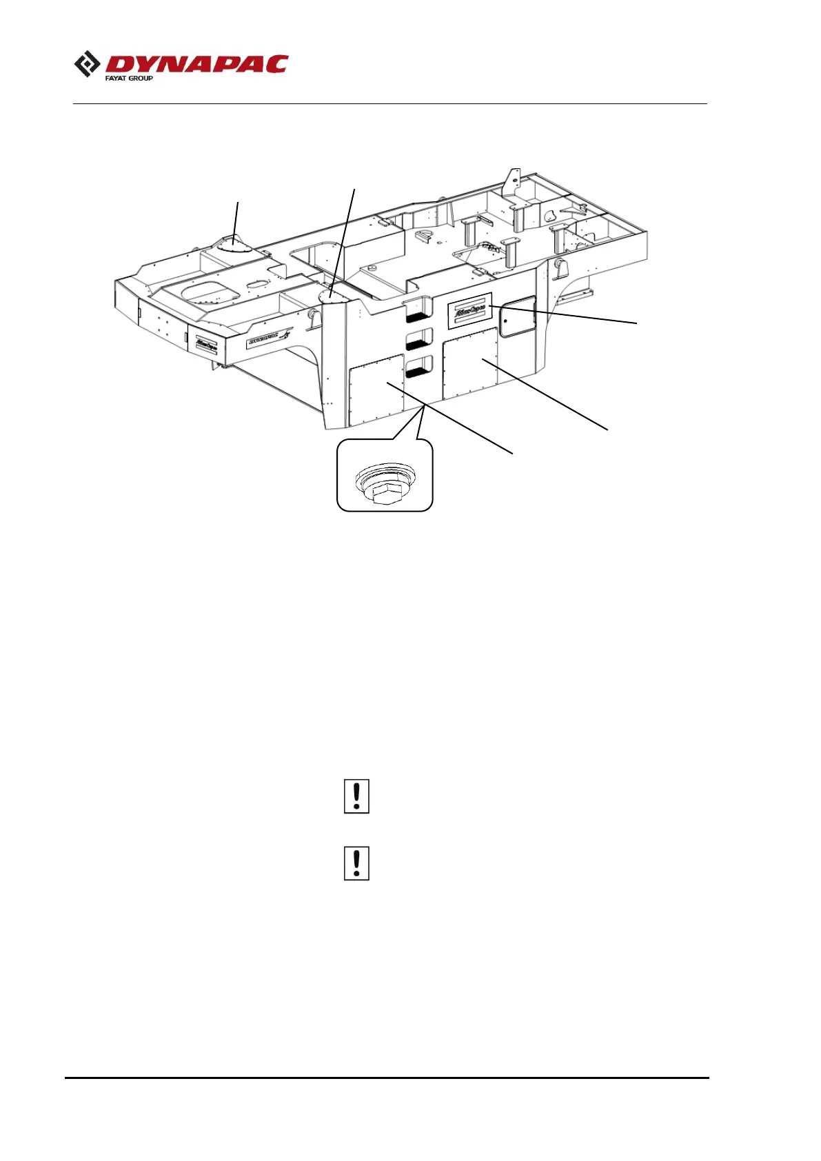
Ballast box
Water and wet sand ballast
Remove the top covers (1) and side upper covers (3) and fill with
water and sand through this opening.
Keep the side lower covers (2) closed during the water filling.
Do not remove the draining plugs (4) because the water may
leak when the ballast is filled with it.
Fill the ballast box, when necessary, with gravel, sand and steel.
The water shall be added when it is filled with sand, so it can fill
all the spaces between the ballast.
When using the roller with mixed ballast, start using
the steel objects available, and then add the
requisite amount of sand and water.
Distribute the ballast evenly.
Fig. Ballast box cover
1. Top covers
2. Side lower covers
3. Side upper covers
4. Draining plugs
2
2
1
1
4
3

Related product manuals