EasyManua.ls Logo

Eclipse AVN6600 - Switching the Highway Junction Guidance Screen

Eclipse AVN6600
163 pages
Print Icon
To Next Page IconTo Next Page
To Next Page IconTo Next Page
To Previous Page IconTo Previous Page
To Previous Page IconTo Previous Page
Loading...
90
5. Route guidance
Navigation guidance
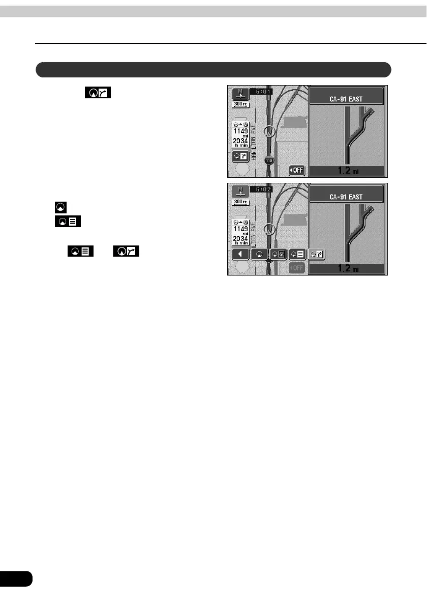
Touch .
To display the regular screen touch
. To display the turn list, touch
.
To redisplay the highway pattern screen,
touch and .
Switching the highway junction guidance screen

Table of Contents

Other manuals for Eclipse AVN6600

Related product manuals