EasyManua.ls Logo

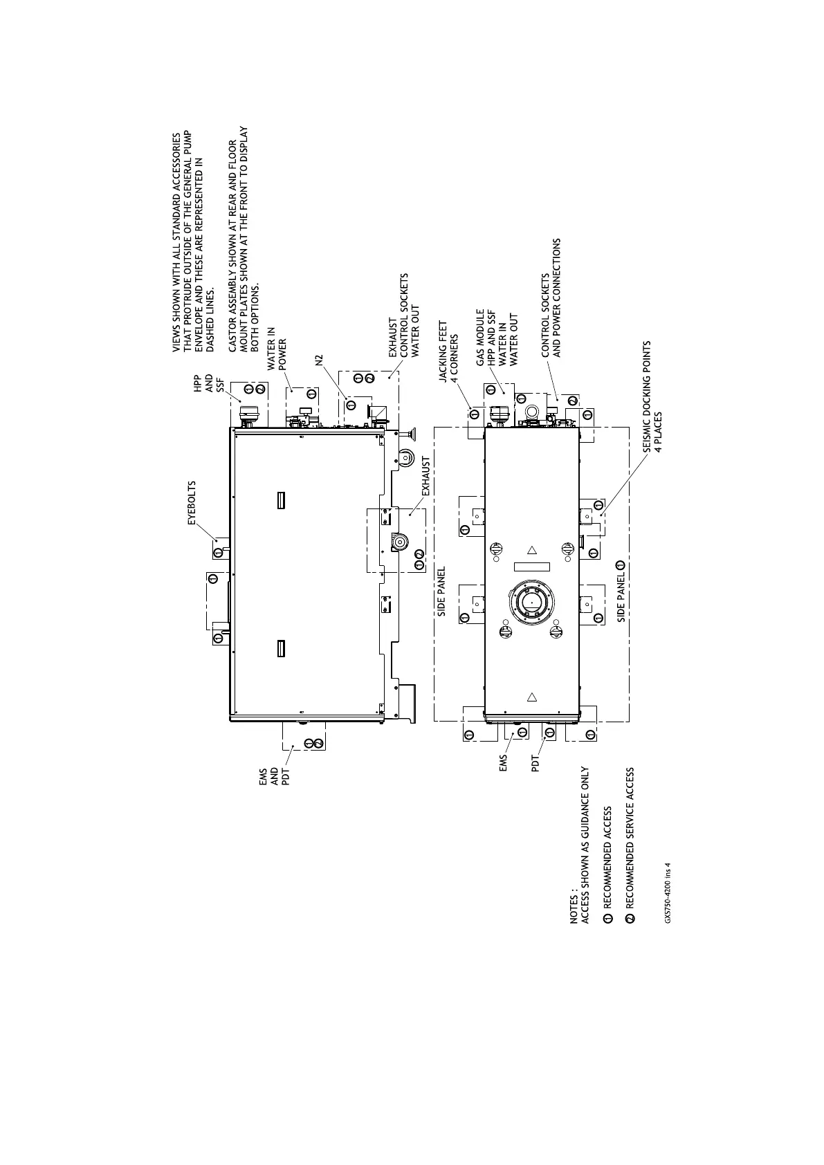
Edwards GXS 160/1750 - Figure 55 GXS750;4200 Installation Drawing (Sheet 4)

Edwards GXS 160/1750
180 pages
To Next Page IconTo Next Page
To Next Page IconTo Next Page
To Previous Page IconTo Previous Page
To Previous Page IconTo Previous Page
Loading...
Figure 55 GXS750/4200 installaon drawing (Sheet 4)
CS/5276/A
Page 119
M58800880_H - Installaon drawings

Table of Contents

Related product manuals