EasyManua.ls Logo

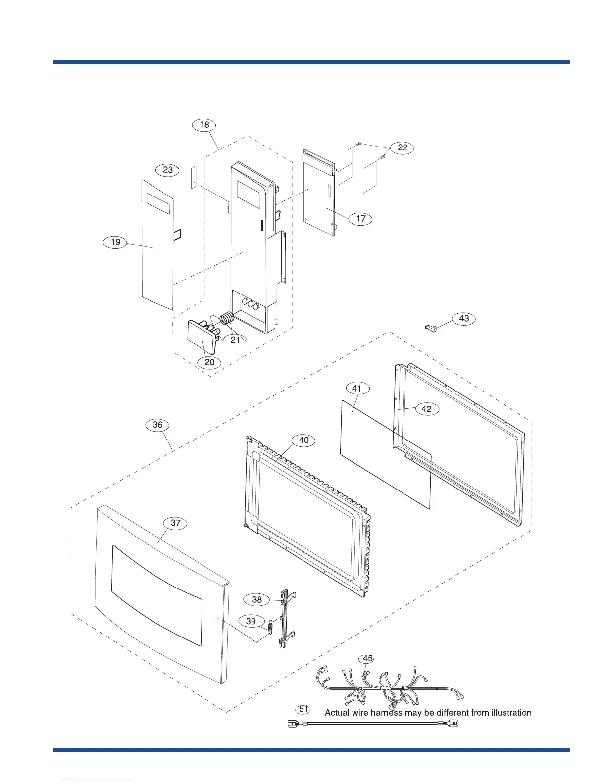
Electrolux EI24MO45IBA - Section 6 Parts List; Key Unit and Door Assembly

Electrolux EI24MO45IBA
44 pages
Print Icon
To Next Page IconTo Next Page
To Next Page IconTo Next Page
To Previous Page IconTo Previous Page
To Previous Page IconTo Previous Page
Loading...
Parts List
6-1
Key Unit And Door Assembly

Table of Contents

Related product manuals