EasyManua.ls Logo

Electrolux EOK86030X - Switching on the Display; Child Safety Device; Activating the Child Safety Device; Switching off the Display

Electrolux EOK86030X
52 pages
Print Icon
To Next Page IconTo Next Page
To Next Page IconTo Next Page
To Previous Page IconTo Previous Page
To Previous Page IconTo Previous Page
Loading...
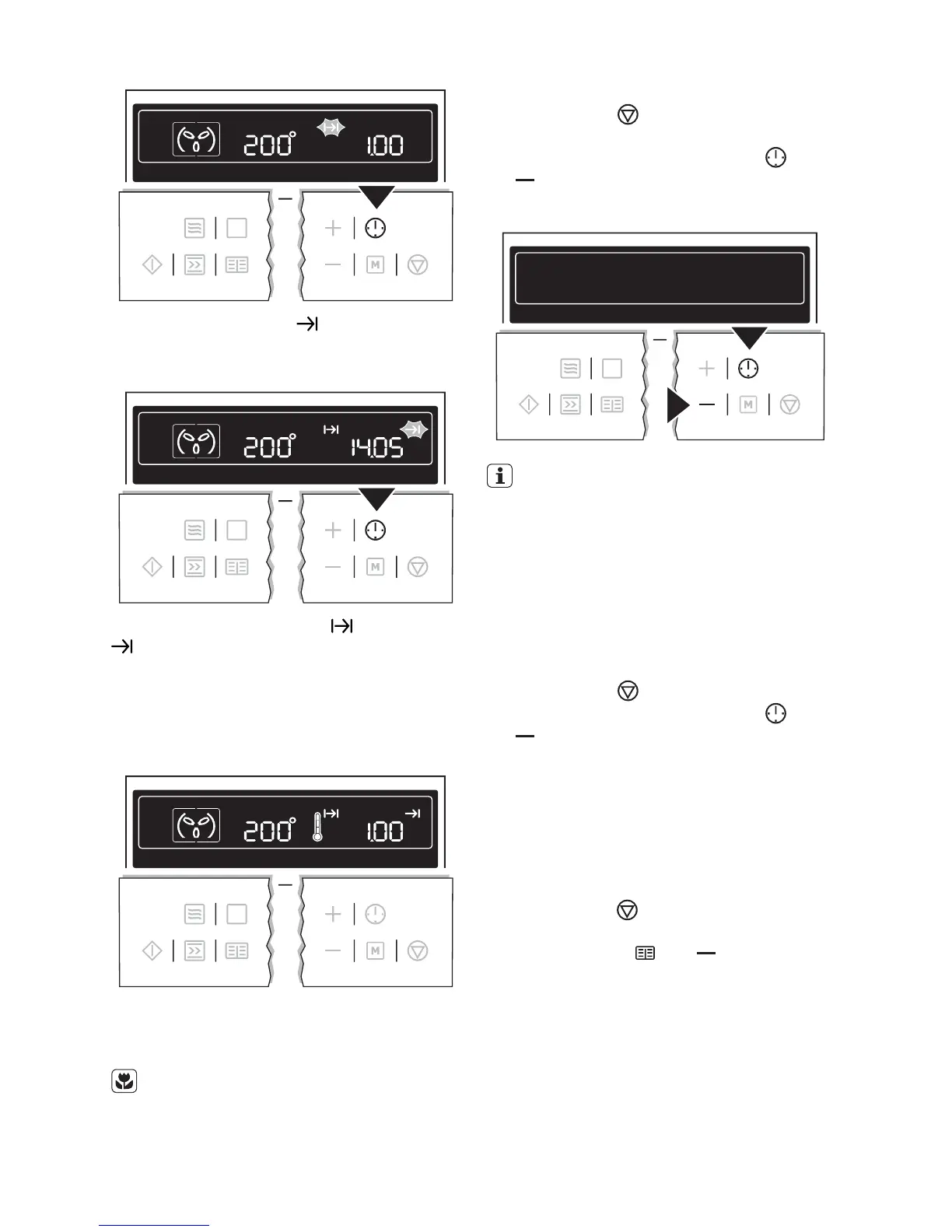
3. Using the End time function, set the
time at which the dish is to be ready.
e.g. at 14:05.
The symbols for Cook time and End time
light up.
The oven switches on automatically at the
time calculated. e.g. at 13:05.
When the set cooking time has elapsed, an
acoustic signal sounds for 2 minutes and the
oven switches itself off. e.g. at 14:05.
Other functions
Switching off the display
You can save energy by switching off the
display.
Switching off the display
1. If necessary, switch off the appliance us-
ing the Stop
button. Residual heat
must not be displayed.
2.
Press buttons Clock Functions
and
at the same time until the display goes
out.
As soon as the appliance is switched on
again, the display automatically
switches itself on. When the appliance is
next switched off, the display goes out
again.
To have the time permanently displayed
again, you must switch the display on
again.
Switching on the display
1. If necessary, switch off the appliance us-
ing the Stop
button.
2.
Press buttons Clock Functions
and
at the same time until the display
comes on again.
Child safety device
As soon as the child safety device is activa-
ted, it is no longer possible to operate the
appliance.
Activating the child safety device
1. If necessary, switch off the appliance us-
ing the Stop
button. An oven function
must not be selected.
2.
Press Recipes
and buttons at the
same time until SAFE appears in the dis-
play.
electrolux 21

Table of Contents