EasyManua.ls Logo

Electrolux WTM165ERA - E10.3 Positioning of Emergency Switches; E10.4 Emergency Stop Reinstatement; Figure 18 Examples of Dishwasher and Rack Handling System Couplings

Electrolux WTM165ERA
56 pages
Print Icon
To Next Page IconTo Next Page
To Next Page IconTo Next Page
To Previous Page IconTo Previous Page
To Previous Page IconTo Previous Page
Loading...
43
ENGLISH
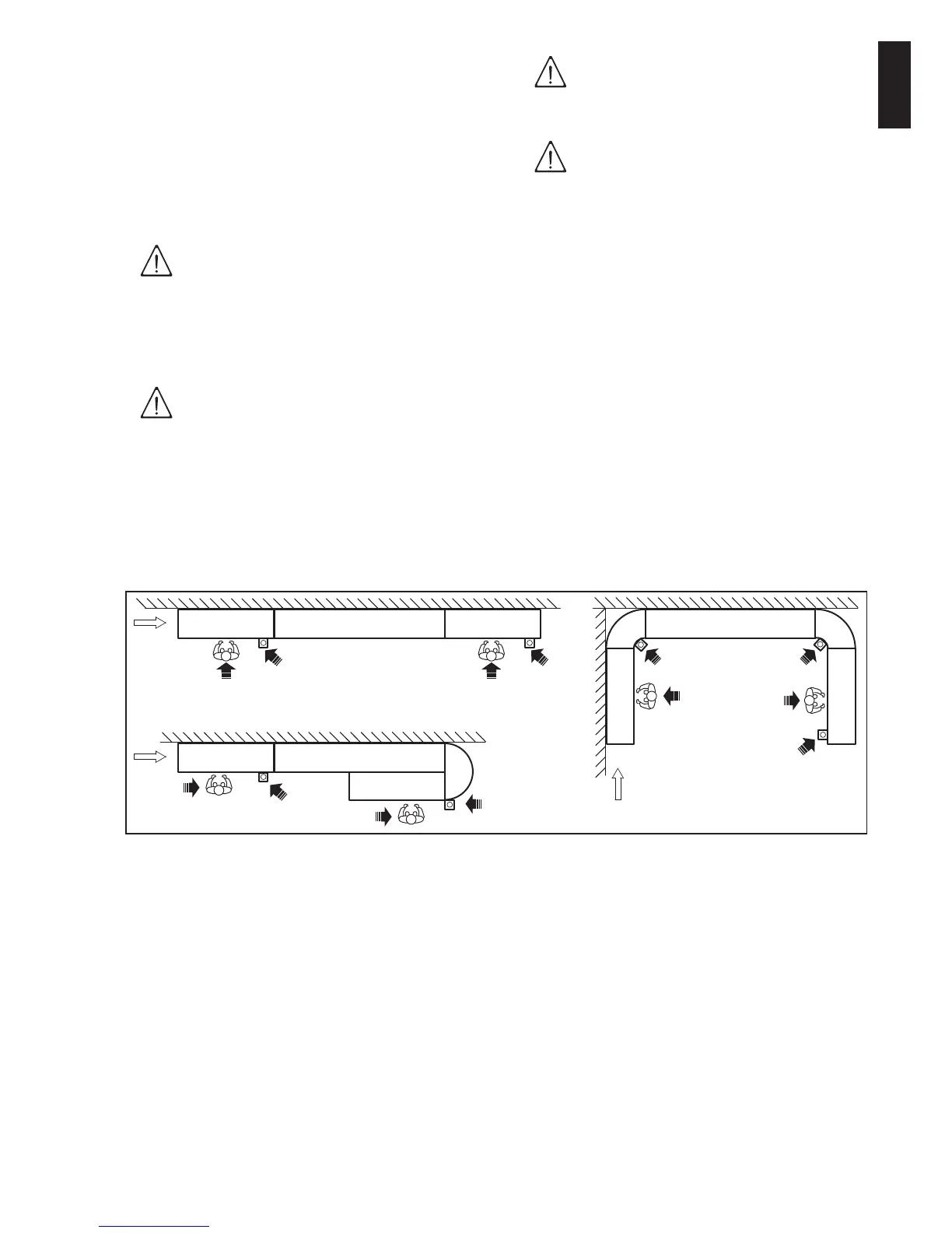
E10.3 Positioning of emergency switches
If rack handling systems are connected at the infeed or
outfeed of a rack-type dishwasher, install on such sys-
tems emergency switches that are clearly visible and
identifiable and easily accessed by the operator “R”
(Figure 18) who must use them.
Described below are possible couplings of dishwash-
ers “L” (Figure 18) with rack handling systems “M”, with
the corresponding positions of the emergency
switches “E” and work stations “R” (Figure 18).
E10.4 Emergency stop reinstatement
When an emergency switch is operated, restart the
machine only after making sure that:
- the cause requiring operation of the emergency
switch has been eliminated;
- restarting machine operation does not involve any
hazard.
If the EMERGENCY SWITCH is operated during
machine operation, the entire machine is deactivated.
To reinstate machine operation, proceed as follows:
- release the previously operated red emergency
mushroom push button, turning or pulling it in order
to disconnect its interlock;
- restart the machine according to what is described
in par. I3 “Daily activation of machine”.
Figure 18 Examples of dishwasher and rack handling system couplings
IMPORTANT!
The emergency switches installed on
the machine do not exempt operators
from diligent and careful use of the
machine. The function of these devices
guarantees prompt intervention in case
of emergency.
IMPORTANT!
Operators must know the position of
the emergency switches installed on
the machine. The paths to reach and
operate them must be kept free of
obstacles.
IMPORTANT!
Emergency switches must be installed,
otherwise the machine cannot operate
(see wiring diagram).
IMPORTANT!
Anyone detecting a danger for persons
must immediately operate one of the
emergency stops; the same applies in
case of operation anomalies and/or
damage to parts of the machine requir-
ing it to be stopped immediately.
L
M
E
M
M
L
MM
EE
L
E
M
M
M
M
R
R
E
R R
E
R
R
E

Table of Contents