EasyManua.ls Logo

Embassy ONEX - 3 Main Components

Embassy ONEX
80 pages
Print Icon
To Next Page IconTo Next Page
To Next Page IconTo Next Page
To Previous Page IconTo Previous Page
To Previous Page IconTo Previous Page
Loading...
9
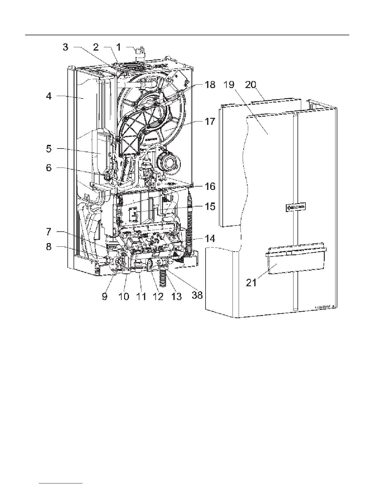
1 - Automatic air vent
2 - Air intake and flue gas discharge fitting (venting system)
3 - U7 flue gas temp. sensor and flue safety switch
4 - Expansion tank (not present on 45AN and 45AE models)
5 - Air drum
6 - Air/gas mixer device
7 - U2 d.h.w. temp. sensor (not present on 45AN and 45AE models)
8 - Heating pressure switch (low water cut-off)
9 - Heating supply connection
10 - DHW connection (not present on 45AN and 45AE models)
11 - Gas inlet connection
12 - DCW connection (not present on 45AN and 45AE models)
13 - Heating return connection
14 - Power Control Board
15 - Openterm interface board (optional)
16 - Connection board
17 - Primary heat exchanger
18 - Spark cable
19 - External jacket
20 - Sealing chamber door
21 - Instrument panel door
Figure 1 - Main components
3 - MAIN COMPONENTS

Table of Contents