EasyManua.ls Logo

Emerson Liebert NXC - 3.3 External Protection Devices

Emerson Liebert NXC
69 pages
Print Icon
To Next Page IconTo Next Page
To Next Page IconTo Next Page
To Previous Page IconTo Previous Page
To Previous Page IconTo Previous Page
Loading...
User Manual 10H52188UM60 - Rev. 2 - 09/2012 21
Liebert NXC Single UPS Installation And Commissioning
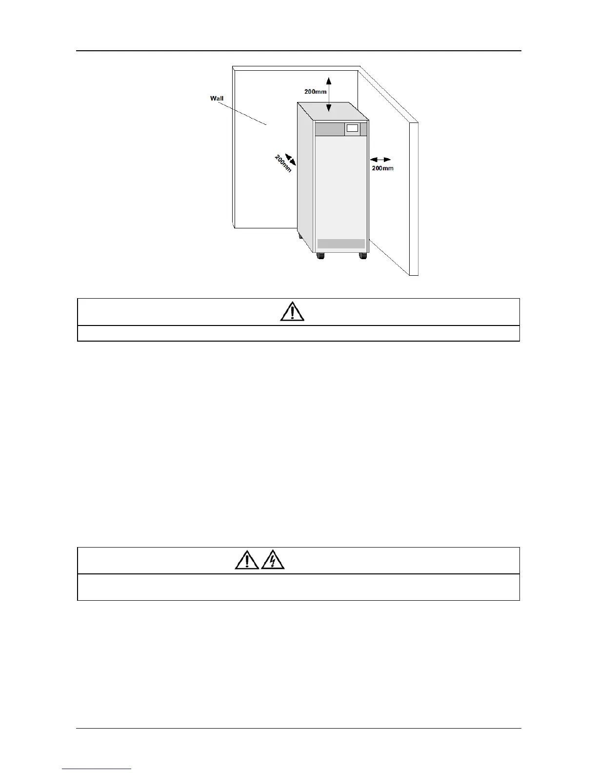
Figure 3-1 Installation clearances
Note
The UPS should be installed only on the concrete surface or other non-flammable surfaces.
UPS room (when Battery is integrated)
A small amount of hydrogen and oxygen will be generated at the end of battery charging, therefore, you must ensure that the
fresh air ventilation of battery installation environment meets the EN50272-2001 requirements.
The battery ambient temperature should be the constant temperature, for the ambient temperature is the main factor to
affect the battery capacity and life. The battery standard operating temperature is 20°C, operation above this temperature will
shorten the battery life, and operation below this temperature will reduce the battery capacity. If the battery average
temperature in operation rises from 20°C to 30°C, the battery life will be reduced by 50%; if the battery temperature in
operation exceeds 40°C, the battery life will be decreased exponentially. In general, the ideal ambient temperature of the
battery is 15°C ~ 25°C. The battery should be kept away from heat and ventilation holes.
When the UPS uses an external battery, you must install a battery protective device (such as fuse or circuit breaker) near to the
battery, and use the shortest wiring distance between the protective device and battery connection.
Storage
If the UPS and/or battery is to be stored for any length of time before being installed, it must be kept indoors, in a cool, dry,
well ventilated environment. The ideal battery storage temperature is between 20 and 25°C.
Warning: battery hazards
During the battery storage, the battery must be periodically charged according to the battery instructions. You can connect the UPS to the
mains temporarily when charging the battery,
so as to charge the battery for battery activation
.
3.2.3 Installation Tools
The tools must be insulated.
Note: for exchanging the
UPS Power Module or the
Battery Tray a front
clearance of 950mm is
necessary.
General view

Table of Contents