EasyManua.ls Logo

EMKO ESM-7730 - Page 52

EMKO ESM-7730
66 pages
Print Icon
To Next Page IconTo Next Page
To Next Page IconTo Next Page
To Previous Page IconTo Previous Page
To Previous Page IconTo Previous Page
Loading...
52
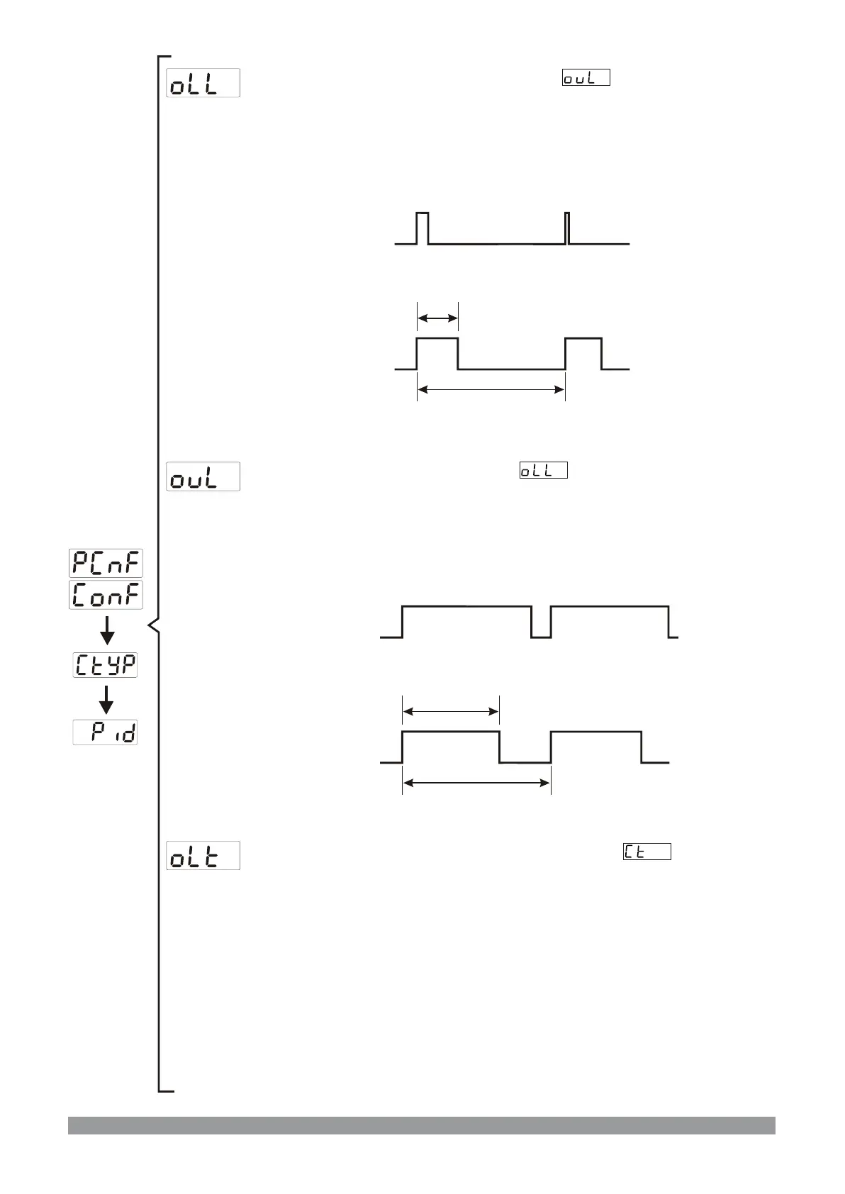
OLL
OUTPUT
PERIOD
GIVEN
OUTPUT
CALCULATED
OUTPUT
OUL
OUTPUT
PERIOD
GIVEN
OUTPUT
CALCULATED
OUTPUT
MAXIMUM CONTROL OUTPUT ( , 100.0%)
MÝNÝMUM CONTROL OUTPUT ( 0.0% , )
MINIMUM CONTROL OUTPUT TIME ( 0.0 sec , )
It is % of minimum output.
Even as a result of the PID calculation device calculates the %output
value less than this parameter, heating or cooling output is active
minimum for OLL parameter.
It is % of maximum output.
Even as a result of the PID calculation device calculates the %output
value greater than this parameter, heating or cooling output is active
maximum for OULH parameter.
Heating or cooling output can not be active less than this parameter.
Even if this parameter is 0, this parameter is accepted 50 msecs for
security.
IS
SELECTED
IF

Table of Contents

Related product manuals