EasyManua.ls Logo

Energomera CE308 - Relay Connection

Energomera CE308
60 pages
Print Icon
To Next Page IconTo Next Page
To Next Page IconTo Next Page
To Previous Page IconTo Previous Page
To Previous Page IconTo Previous Page
Loading...
30
The value of electrical resistance R in the pulse output load circuit is determined by the following formula:
(3.1)
where U is the output power voltage, V.
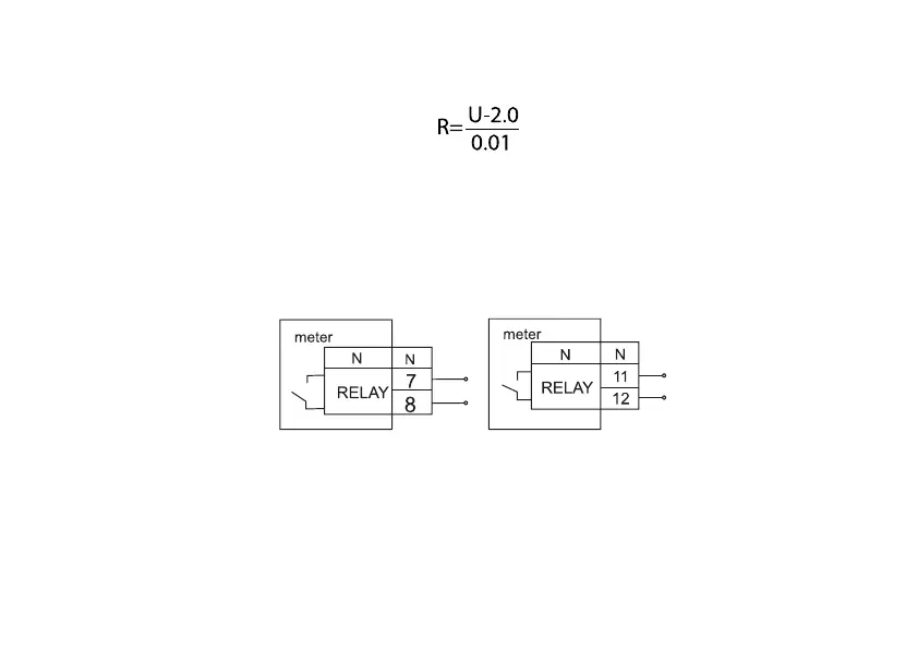
3.4.2 Relay connection
To implement alarm functions, meter versions with an alarm relay (AR) are provided:
The switching specifications of the relay are shown in Table 2.3, modes of operation in the
САНТ.411152.107-05.1 РП.
AR connection diagrams are shown in Figure 3.4.
Figure 3.4 – Alarm relay connection diagram
The CE308 S34 meter load control relay provides a break or connection between pins 1 and 3 for phase A, 4 and
6 for phase B, 7 and 9 for phase C (see Figure 3.2d).

Related product manuals