EasyManua.ls Logo

ENERMAX LIQTECH II - Step 2-1: Install Position Screws for LGA1200;115 x;1366

ENERMAX LIQTECH II
48 pages
Print Icon
To Next Page IconTo Next Page
To Next Page IconTo Next Page
To Previous Page IconTo Previous Page
To Previous Page IconTo Previous Page
Loading...
- 12 -
Intel Installa�on
Step 2-1
LGA1200/1150/1151/1155/1156/1366
EN
DE


ES
PL

CN
ID

KR
RU























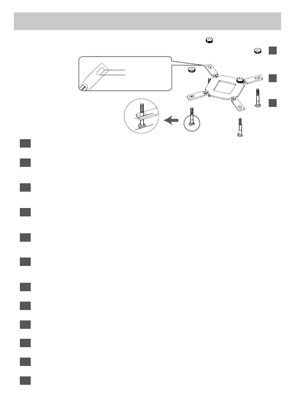
在背板上依系統CPU腳位所標示的孔位插入定位螺絲並套上墊圈固定
《如果您的主機板是Intel LGA1700,請直接跳至步驟2-2》
《如果您的主機板是Intel LGA2011/2011-3/2066,請直接跳至步驟3-2 》
在背板上根据系统CPU脚位所标示的孔位插入定位螺丝,并套上垫圈固定
《如果您的主板是Intel LGA1700,请直接跳至步骤2-2》
《如果您的主板是Intel LGA2011/2011-3/2066,请直接跳至步骤3-2 》
バックプレートの適切な穴にポジションスクリューを挿入、ワッシャーを使用してバックプレートを挟み込みます。
「CPUプラットフォームがIntel1700の場合は、ステップ2-2にスキップしてください。」
「CPUプラットフォームがIntel2011 / 2011-3 / 2066の場合は、ステップ3-2にスキップしてください。
백플레이트(C) 구멍에 포지션스크류(D)를 삽입 한 후 와셔(K)로 고정하세요.
(CPU 플렛폼이 Intel 1700인 경우, Step2-2 참조)
(CPU 플렛폼이 Intel LGA2011/2011-3/2066인 경우, Step 3-2 참조)







K
C
D



Related product manuals