EasyManua.ls Logo

ESAB MigMaster 210 - Page 25

ESAB MigMaster 210
28 pages
Print Icon
To Next Page IconTo Next Page
To Next Page IconTo Next Page
To Previous Page IconTo Previous Page
To Previous Page IconTo Previous Page
Loading...
Description Part No.
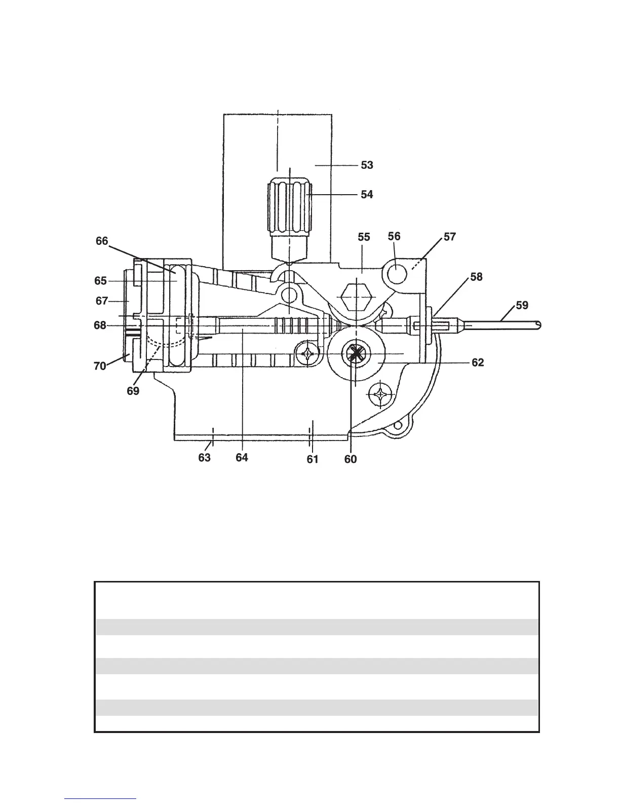
MigMaster 210 Spare Parts (Figure 8)
Figure 8 - MigMaster 210 Wire Feeder Assembly
Welding clamp 82F31
Work Assembly 32995
MigMaster 210 Spare Parts (Items Not Illustrated)
Option: Primary Extension Cord 37833
Option: V Feed Roll 023/030/035 SS 0367556001
Option:
Serrated Feed Roll 030/035 Cored
0558002433

Related product manuals