EasyManua.ls Logo

evoheat 270 - Page 25

evoheat 270
38 pages
Print Icon
To Next Page IconTo Next Page
To Next Page IconTo Next Page
To Previous Page IconTo Previous Page
To Previous Page IconTo Previous Page
Loading...
22
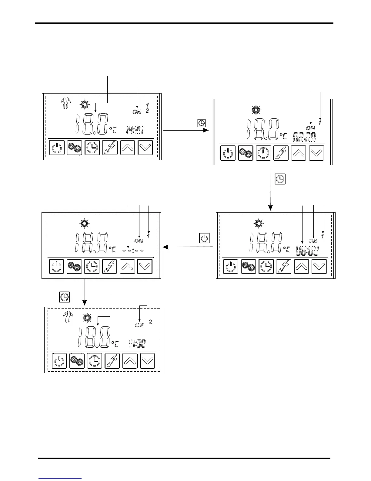
5.Operation
If you want to cancel the timer setting ,follow this below
Outlet water temperature
Timer state
Pressing " "
lasting for 2S
The current timer state
The "ON" and " 1 "
icons are flashing
Pressing " "
The icon " ON ","1" and
the icon hour are flashing.
Pressing " "
you can cancel
the first timer
on setting
Outlet water temperature
Cancel timer on
Pressing
" "
5. Operation
21
Press " " and hold for 2s to enter
into the next setting without confirming
the previous one.
Set the hour.
OFF 2
Press
to confirm
the tim e.
Set the minute.
Example: Running period 1: 8:00~10:00; Running period 2: 16:30~22:00.
Outlet water temperature
Current tim e
Press " "
and hold for 2s.
ON 1
OFF 1
Confirm the time after setting.
Confirm the
time after
setting.
ON 2
Confirm the time after setting.
OFF 2
P
r
e
s
s
"
"
to
c
o
n
f
irm
Successful setting
P
res
s "
"
to
ca
n
c
e
l
th
e
s
ett
ing
a
nd exit.
Without saving

Related product manuals