EasyManua.ls Logo

Excelltel CDX-PH201-M - Fifth Step; Sixth Step

Excelltel CDX-PH201-M
42 pages
Print Icon
To Next Page IconTo Next Page
To Next Page IconTo Next Page
To Previous Page IconTo Previous Page
To Previous Page IconTo Previous Page
Loading...
3042
30
Key Telephone
first“*”will flash
prompt you to input the password again.)
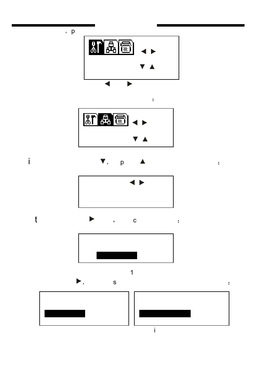
Fourth step press or to choose “EXT. PARA” (or input
number 202 directly) , and the LCD will show
Fifth steppress twice
or press 11 times, the LED show
Sixth steppress once
the screen will show
Fig 6.1
continue to press
you can select from Fig 6.2, 6.3, 6.4 show below
Fig 6.2 Fig 6.3
SEL
S Y S. P A R A. ENT
E X T. P A R A S E L
OUT MODE
DIAL OUT MODE
01 DE-DIRECT
DIAL OUT MODE
ALL DIRECT
DIAL OUT MODE
ALL DE-DIRECT
SEL
E X T. P A R A ENT

Table of Contents

Related product manuals