EasyManua.ls Logo

Exerpeutic TF3000 - Incline Adjustment

Exerpeutic TF3000
26 pages
Print Icon
To Next Page IconTo Next Page
To Next Page IconTo Next Page
To Previous Page IconTo Previous Page
To Previous Page IconTo Previous Page
Loading...
18
ADJUSTMENTS
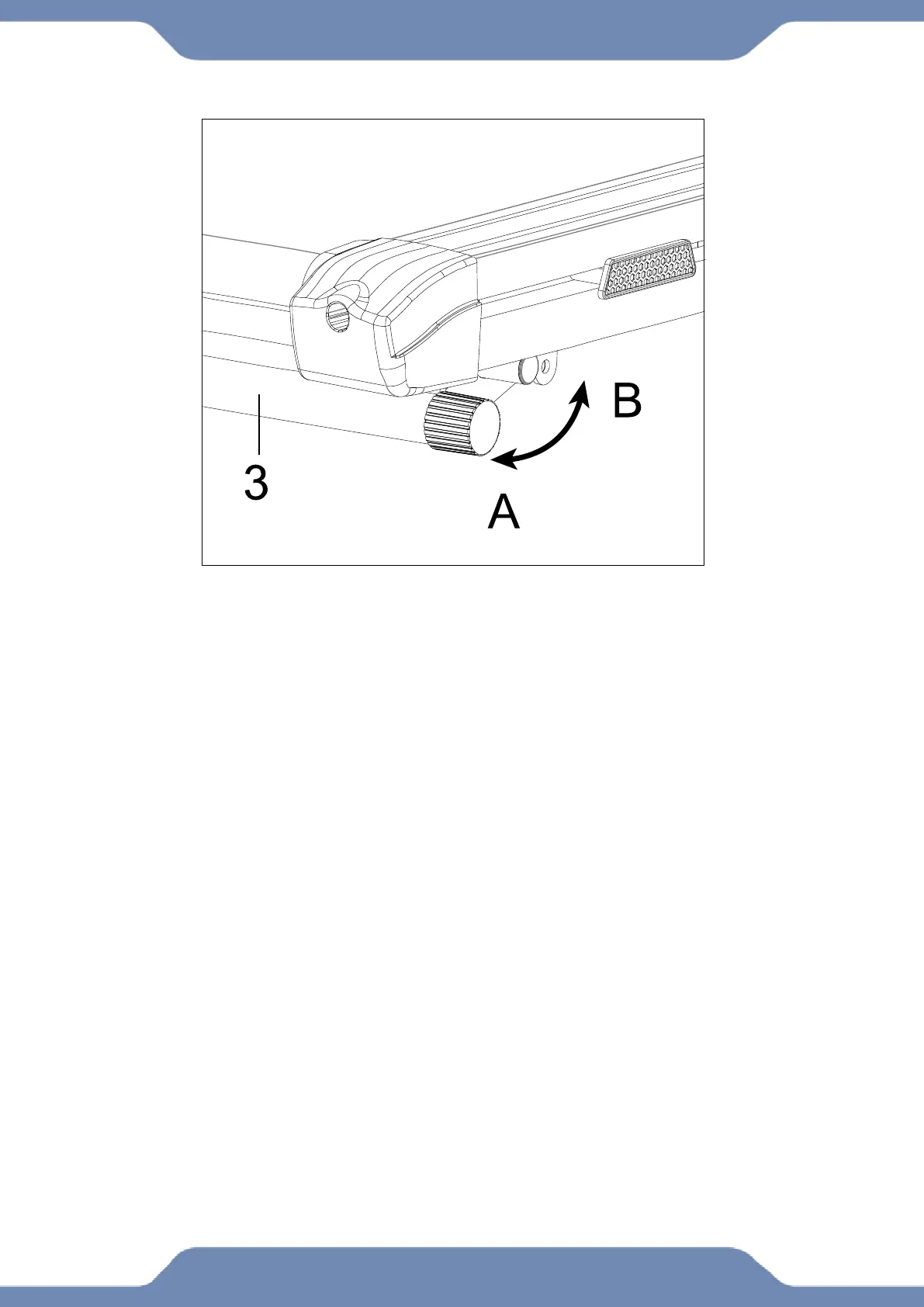
Incline Adjustment:
Raise the rear end of main frame then rotate the Incline Adjuster (3) to position A or B.
Position A gives the treadmill deck a 3% Incline.
Position B gives the treadmill deck a 6% Incline.