EasyManua.ls Logo

Ferris HydroCut HC32KAV13 - Fuel Supply Hose & Tank Replacement Parts Group - Electric Start

Ferris HydroCut HC32KAV13
54 pages
Print Icon
To Next Page IconTo Next Page
To Next Page IconTo Next Page
To Previous Page IconTo Previous Page
To Previous Page IconTo Previous Page
Loading...
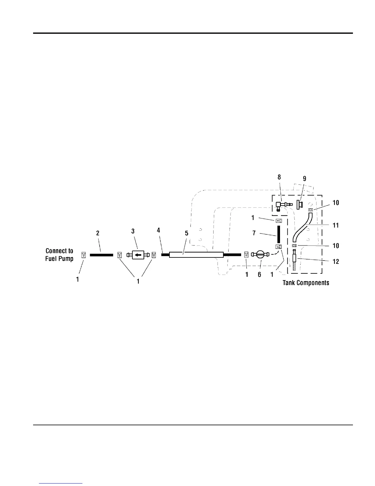
Fuel Supply Hose & Tank Replacement Parts Group - Electric Start
077fshe0
NOTE: Unless noted otherwise,
use the standard hardware torque
specification chart.
The above parts group applies to the following Mfg. Nos.:
2005
8
© Copyright Ferris Industries. All Rights Reserved.
5900604
HC36KAV13E
TP 400-7077-08-HC-F

Related product manuals