EasyManua.ls Logo

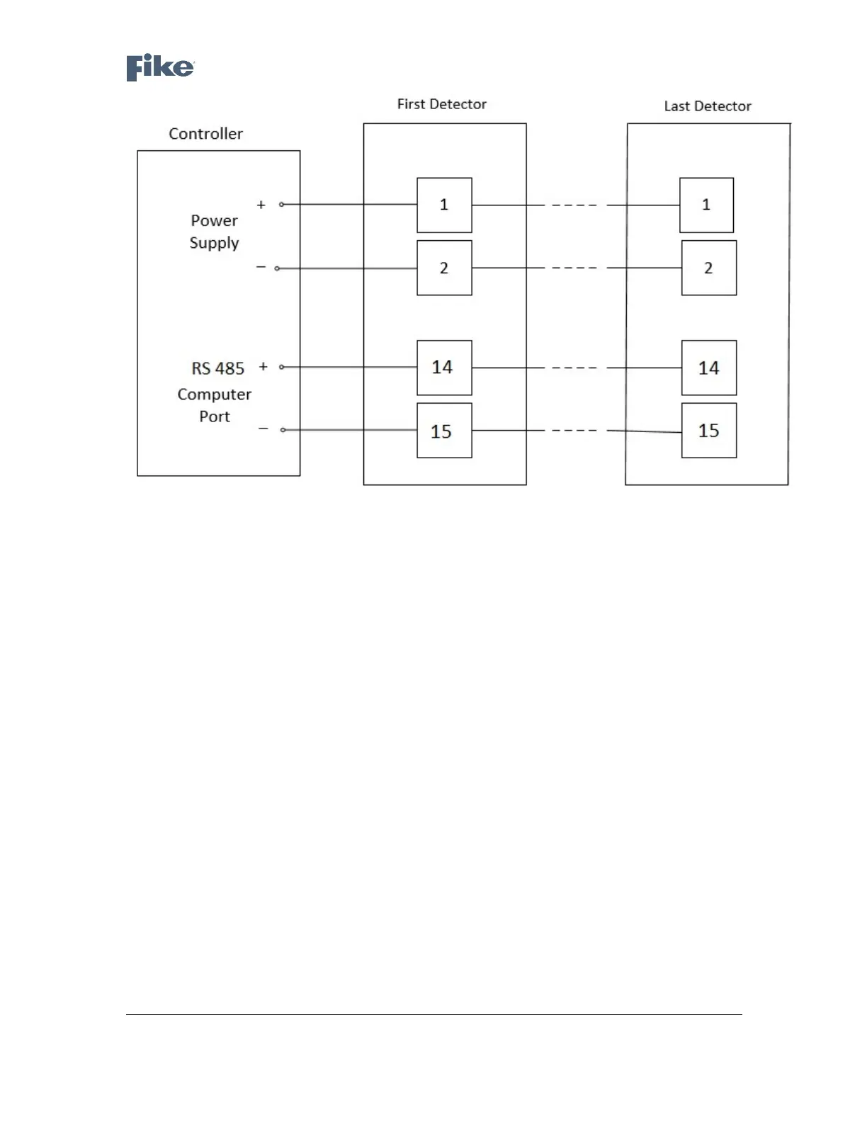
Fike FIK-IR3-HD - Figure 8 - RS-485 Networking

Fike FIK-IR3-HD
31 pages
Print Icon
To Next Page IconTo Next Page
To Next Page IconTo Next Page
To Previous Page IconTo Previous Page
To Previous Page IconTo Previous Page
Loading...
FIK-IR3-HD User Manual Doc. No. 06-932.02
For more information & Technical support: (800)-979-FIKE (3453) 14
Figure 8 - RS-485 Networking

Related product manuals