EasyManua.ls Logo

Fireray 50RV - Wiring Diagrams

Fireray 50RV
27 pages
Print Icon
To Next Page IconTo Next Page
To Next Page IconTo Next Page
To Previous Page IconTo Previous Page
To Previous Page IconTo Previous Page
Loading...
- 10 -
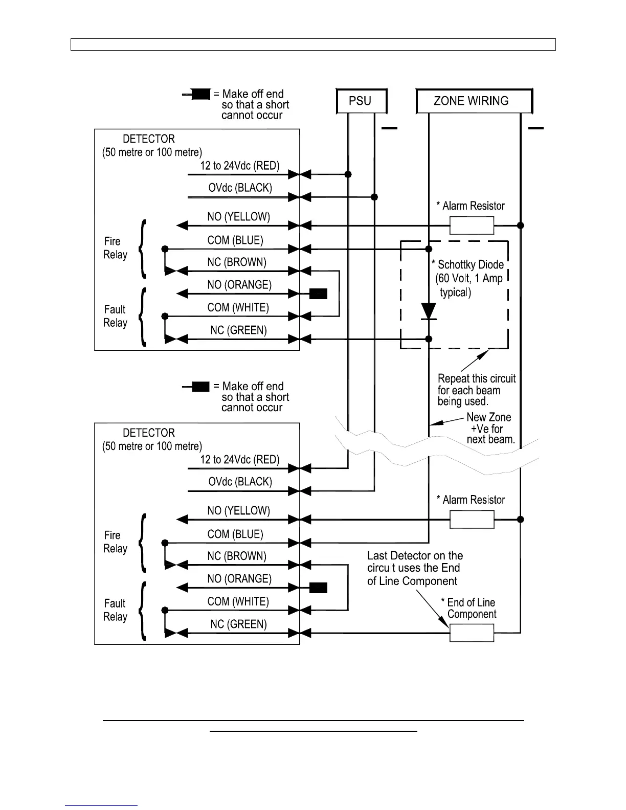
9.2 Typical multiple-beam zone wiring diagram.
++
This diagram is an example for multiple Detectors on a zone. The operation for Alarm and Fault should
always be checked for correct connection to the panel. Relays are shown in quiescent condition.
Contact fire panel manufacturer for values of ‘Alarm Resistor’ and ‘End of Line Component’.
* These parts are not supplied with the beam.

Related product manuals