EasyManua.ls Logo

Fireray 50RV - Page 24

Fireray 50RV
27 pages
Print Icon
To Next Page IconTo Next Page
To Next Page IconTo Next Page
To Previous Page IconTo Previous Page
To Previous Page IconTo Previous Page
Loading...
- 23 -
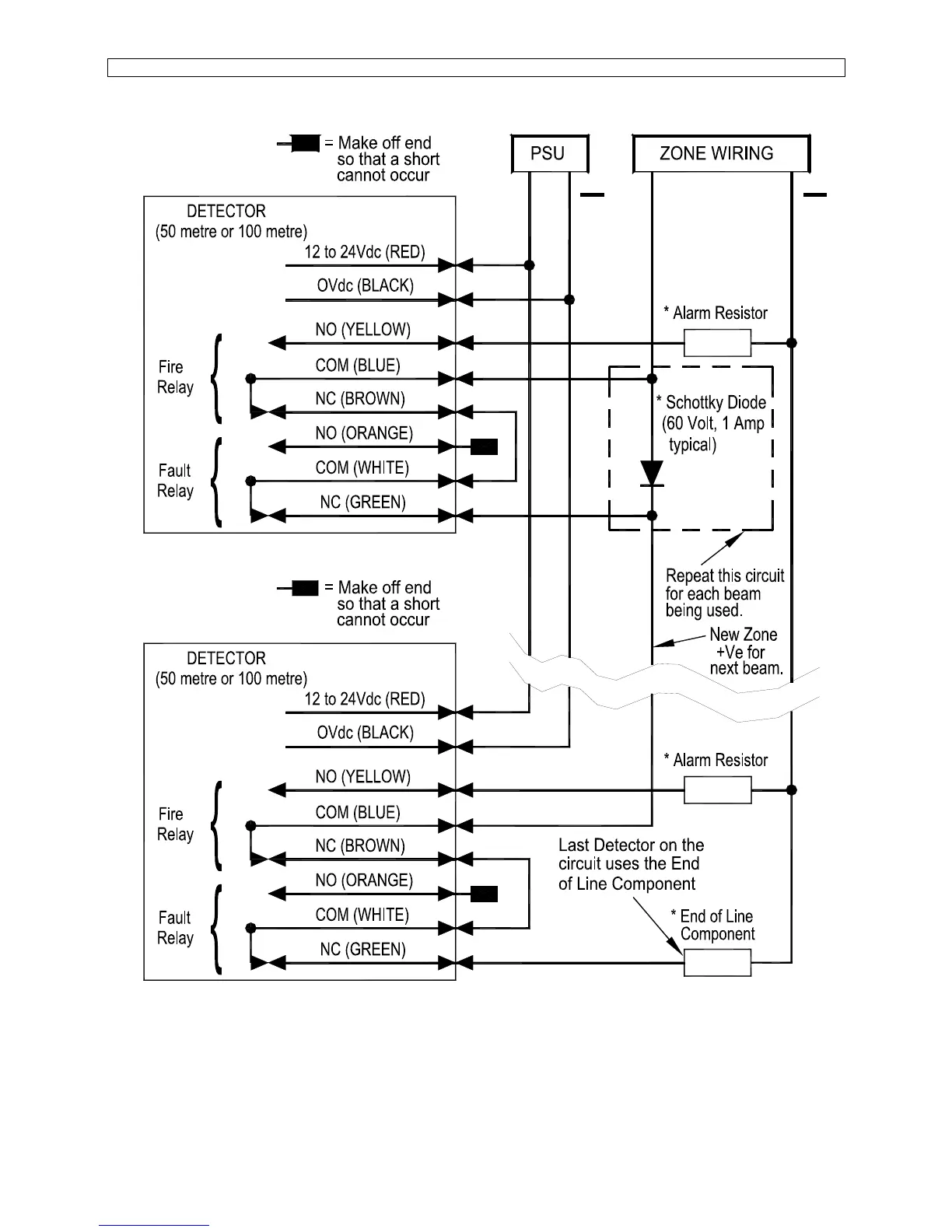
9.2 Anschluß-Beispiel mehrerer FireRays auf eine Meldegruppe
++
Diese Zeichnung zeigt die Anschaltung mehrerer FireRay auf eine Melde-Gruppe. Die richtigen
Anschlüsse müssen für jeden Melder getestet werden. Hier sind die FireRay im Betrieb dargestellt,
es liegen weder ALARM noch Störung an. Die Werte der Arbeitswiderstände und des
Linienabschlusses richten sich nach der verwendeten Zentralentechnik.
In Deutschland schaltet man in der Regel nur einen Melder auf eine Melde-Gruppe.

Related product manuals