EasyManua.ls Logo

Floe VSD6500 - Canopy Fabric Folding Instructions; Canopy Fabric Care & Cleaning

Default Icon
48 pages
Print Icon
To Next Page IconTo Next Page
To Next Page IconTo Next Page
To Previous Page IconTo Previous Page
To Previous Page IconTo Previous Page
Loading...
25
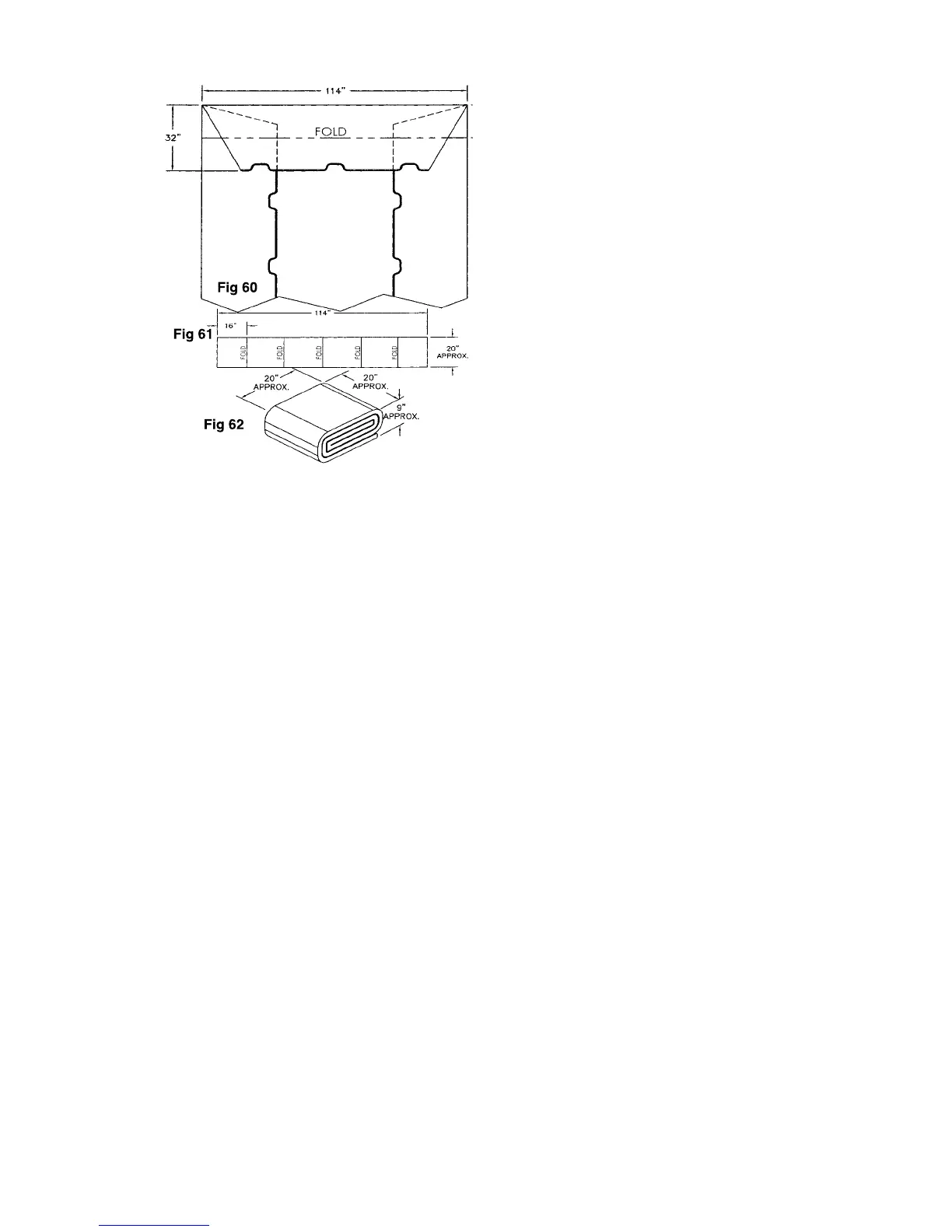
CANOPY FOLDING INSTRUCTIONS
1. Lay
canopy on
a clean, at
surface with
the top
facing up.
2. Fold the
sides of the
canopy on
the seam.
Fold one
end of the
canopy to
the seam.
See Fig. 60.
3. Start at
the end that
is folded, measure in 16”, fold the canopy to-
ward opposite end and continue folding until you
reach the other side. The canopy should now be
approximately 20” wide and resemble Fig. 61.
4. At one side, measure in 16”, fold the canopy
until you reach the opposite end. The canopy
should now resemble Fig. 62.
CANOPY FABRIC CARE & CLEANING
SOLUTION DYED POLYESTER (SDP)
SDP is a woven fabric and will not support
the growth of mildew. Mold and mildew needs
“food” to grow on and polyester isn’t a desirable
substance for mold. Dirt or dust on the fabric is
a perfect “food” for mildew growth, which makes
regular cleaning important. There is no set time for
when a fabric should be cleaned. The local envi-
ronment has a great deal to do with determining
cleaning frequency. Cleaning is required less fre-
quently in a dry environment than in a humid one
with heavy foliage cover. SDP has a nish applied
to the fabric to deter mold and mildew growth, but
does not make it mold-proof. Keeping the fabric
free of dirt is important to deter mold growth.
FLOE SDP fabrics will provide excellent protec-
tion to your boat from harmful sun exposure. Also,
the combination of heat-sealed seams and the
water repellent fabric will minimize rain from enter-
ing the boat. Heavy and/or persistent rainfall can
increase the likelihood that a limited amount of
water could pass through the fabric. It is recommend
that the canopy be kept taut using FLOE’s horizontal
fabric tensioner and Quick-Clip with elastic tension
belt system. A taut canopy fabric promotes water
run-off and will minimize water penetration. Also,
applying water repelling fabric treatments such as
303 may increase the water repellency further.
Cleaning: One of the best ways to keep SDP look-
ing good and to delay the need for deep clean-
ings is to hose fabric off on a monthly basis with
clean water. This practice will help prevent dirt from
becoming deeply embedded in the fabric. In most
environments, a thorough cleaning will be needed
every two to three years.
To thoroughly clean SDP fabric, follow these simple
steps:
1. Brush off loose dirt.
2. Hose down.
3. Prepare a cleaning mixture of water and mild
natural soap (no detergents).
4. Use a soft bristle brush to clean.
5. Allow soap to soak in.
6. Rinse thoroughly.
7. Air dry completely before storage.
-or-
Size permitting, SDP fabric can be cleaned in
a large commercial washing machine with mild
natural soap and water.
Re-Treating the Fabric: SDP fabrics are treated
with a uorocarbon nish which enhances water
repellency. This nish is designed to last for years
but must be replenished after a thorough cleaning.
The fabric manufacturer recommends 303 High
Tech Fabric Guard™ as the preferred re-treatment
product. Fabric should be re-treated after a thorough
cleaning or after ve years of use. 303 High Tech
Fabric Guard™ can be purchased at most marine
supply stores or online at 303-products.com.
If a canopy fabric has any build-up of dust or dirt
in the pores and it is in a moist environment where
it cannot dry out regularly, it may cause mildew to
grow on the fabric. Although this mildew can be
removed, it can be very difcult or even impossible
to remove the stain on the fabric left by the mildew.
With darker colored fabrics, even if such a stain
occurred it is much less visible to see.

Other manuals for Floe VSD6500

Related product manuals