EasyManua.ls Logo

Foundation FP-102KM4 - Page 18

Default Icon
49 pages
Print Icon
To Next Page IconTo Next Page
To Next Page IconTo Next Page
To Previous Page IconTo Previous Page
To Previous Page IconTo Previous Page
Loading...
Page 18 of 49
Ceiling cassette
Fan
Coil Unit
, 4
-
Model: FP-
KM
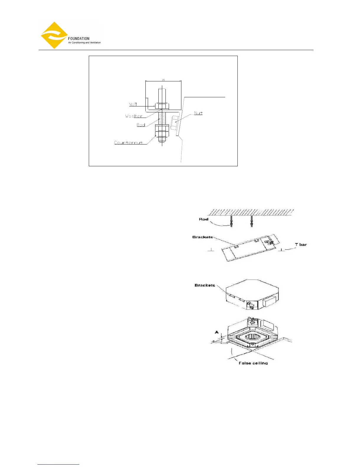
The spaces between the unit and ceiling can now be adjusted. Use the drop rods to make the adjustment.
Check to ensure the unit is level. The drain will then automatically be lower than the rest of the drip tray.
Tighten the nuts on the suspended rods.
Fig.7
Ensure the ceiling is horizontally level,
otherwise condensate water cannot drain.
The casing is fixed to the slab with 4 drop rods.
The rods should have two nuts and washers to
lock the unit in position. The Cassette brackets
will then hook over the washers.
When lifting the Cassette into position care
should be taken not to lift the unit by the drip
tray, which could be damaged.
Lift unit (without the air panel) with care by its
four corners only. Do not lift unit by the
condensate drain discharge pipe or by the
piping connections.
Incline unit (Fig.8, Fig.9) and insert it into the
false ceiling. Insert the rods into the bracket
slot.
With minimum height (see table) false ceilings,
it might be necessary to remove some T
brackets of the false ceiling temporarily.
Using a
level guide, line up the unit with a spirit
level, and keep dimension between the body
and the lower part of the false ceiling (Fig.10).
Line up the unit to the supporting bars of the
false ceiling tightening the nuts and counter
nuts of the threaded rods.
After connection of the condensate drain piping
and piping connections, check again that the
unit is level
Fig.
8
Fig.10
Note: A = 3mm
Fig.
9

Related product manuals