EasyManua.ls Logo

Friedrich FPHFR18A3A - Test Fan Motor and Compressor

Friedrich FPHFR18A3A
193 pages
Print Icon
To Next Page IconTo Next Page
To Next Page IconTo Next Page
To Previous Page IconTo Previous Page
To Previous Page IconTo Previous Page
Loading...
99 PB
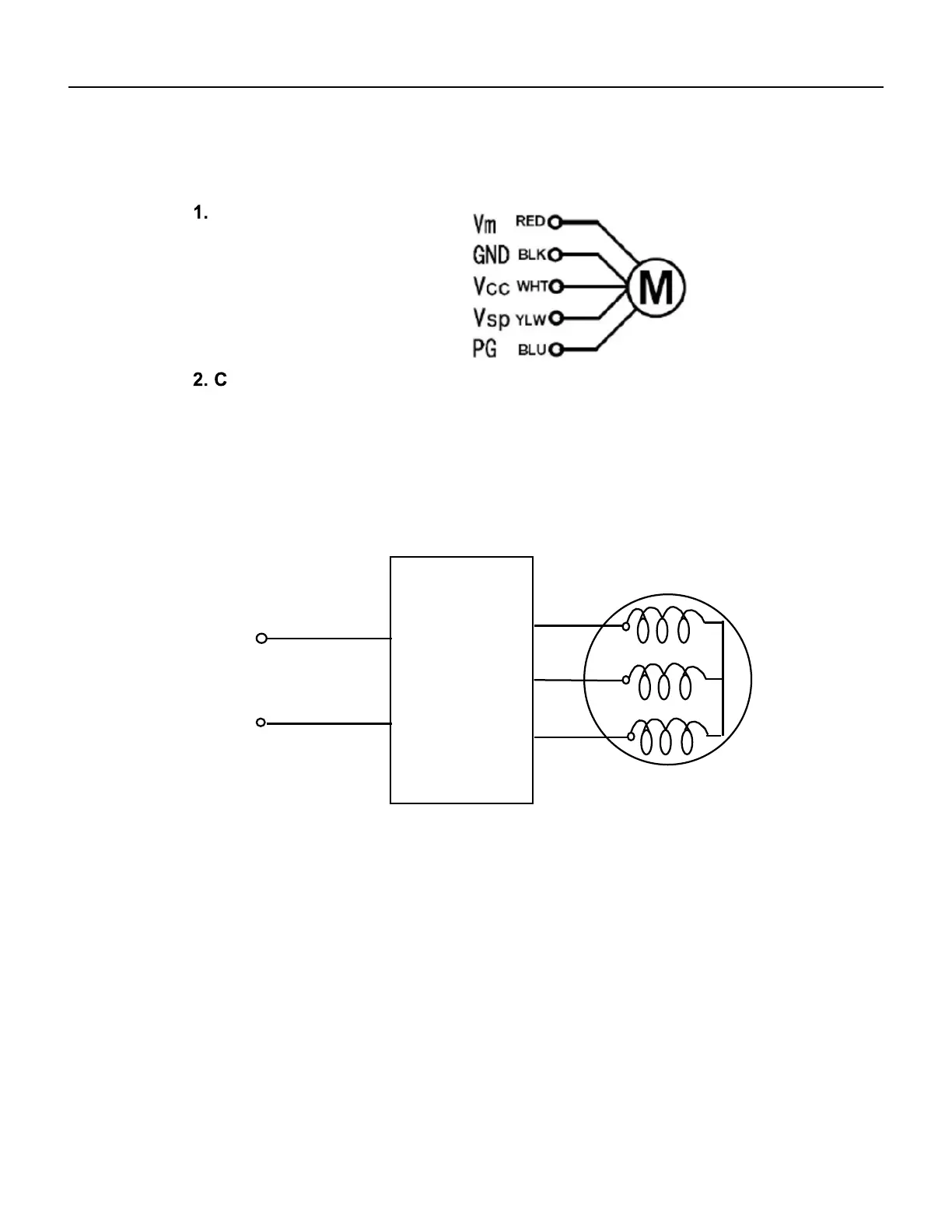
COMPONENTS TESTING
Test Fan Motor and Compressor
DC Inverter
&
Controller
Fan motor
ompressor
Compressor
Power

Table of Contents

Related product manuals