EasyManua.ls Logo

Fromm P328 M - Part F6; Part F7; Part F8

Fromm P328 M
47 pages
Print Icon
To Next Page IconTo Next Page
To Next Page IconTo Next Page
To Previous Page IconTo Previous Page
To Previous Page IconTo Previous Page
Loading...
1-25
P32.8131/
N2.2126
F6
P32.8131/
N3.3172
F7
P32.8138/
N3.4520
F8
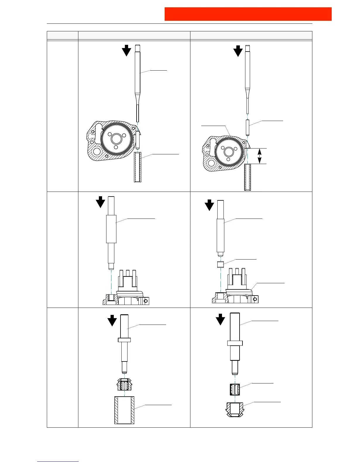
Part Disassembly Assembly
N72.3225
Arbor
N2.2126
P32.8131
press-in measure
20 mm
N71.3250
N7.3244
N3.3172
P32.8131
*Pay attention to the
direction of the joint
see assembly information
N72.3222
N72.3223
P32.8138
N3.4520
N71.3235
*Pay attention to the
assembling direction
see assembly information.
Purchase at Allstrap (866) 779-2673

Related product manuals