EasyManua.ls Logo

Fromm P328 - Page 26

Fromm P328
47 pages
Print Icon
To Next Page IconTo Next Page
To Next Page IconTo Next Page
To Previous Page IconTo Previous Page
To Previous Page IconTo Previous Page
Loading...
1-25
P32.8131/
N2.2126
F6
P32.8131/
N3.3172
F7
P32.8138/
N3.4520
F8
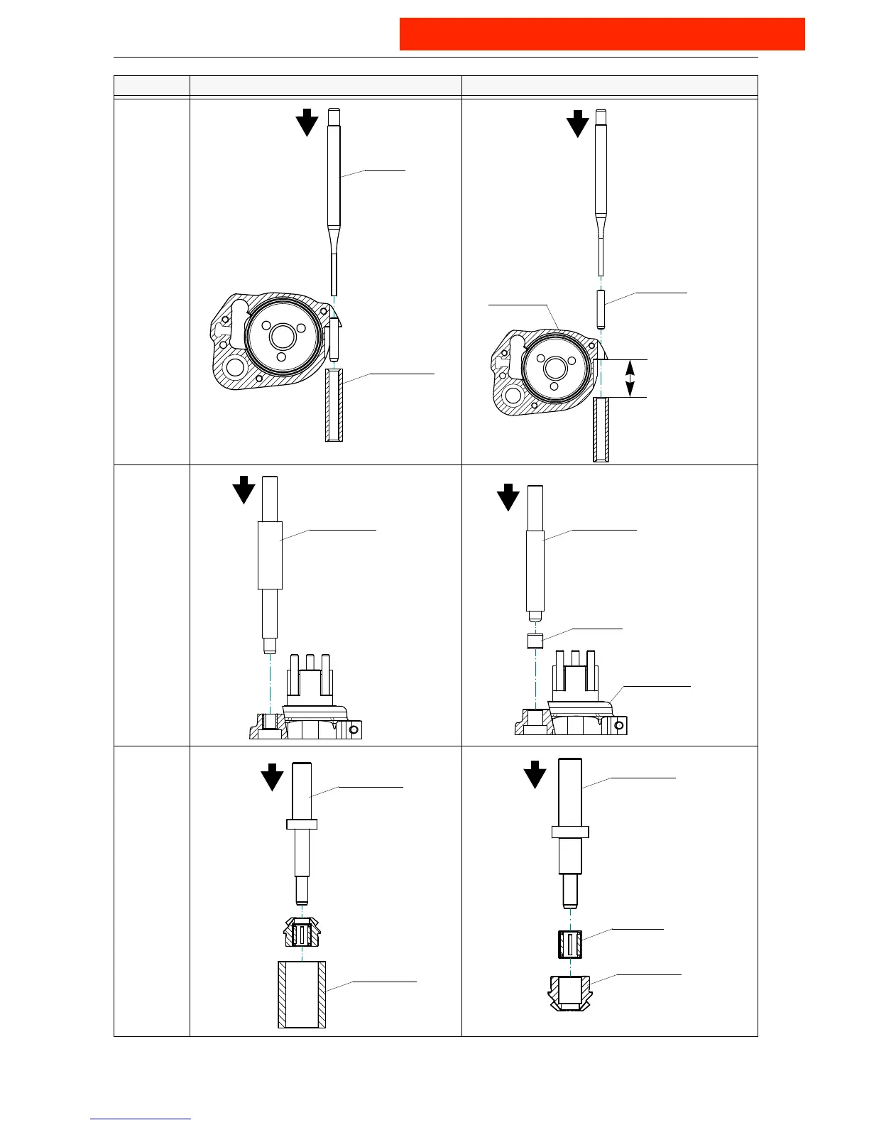
Part Disassembly Assembly
N72.3225
Arbor
N2.2126
P32.8131
press-in measure
20 mm
N71.3250
N7.3244
N3.3172
P32.8131
*Pay attention to the
direction of the joint
see assembly information
N72.3222
N72.3223
P32.8138
N3.4520
N71.3235
*Pay attention to the
assembling direction
see assembly information.
Purchase at Allstrap (866) 779-2673

Related product manuals