EasyManua.ls Logo

Fujitsu PRIMERGY TX150 S4

Fujitsu PRIMERGY TX150 S4
18 pages
To Next Page IconTo Next Page
To Next Page IconTo Next Page
To Previous Page IconTo Previous Page
To Previous Page IconTo Previous Page
Loading...
System configurator and order-information guide
H
PRIMERGY TX150 S4 Status 25.11.2005
continued
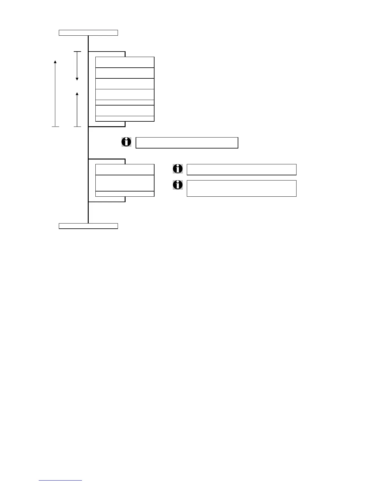
on previous E. 2-Kanal Ultra 320 SCSI Controller für Disk Array
page
S26361-F3090-E256
2-channel RAID Controller U320
LSI
320-2x
256MB SDRAM ECC Cache
1x
default with TBBU
plug: internal 2x HD68;
external: 2x VHDCI
without cable
64/133 PCI-X controller, 180mm
3.3V and 5V tolerant signaling
max. 1x per system
The fitting connection cables can be found in the configurator
of the external storage system and / or rack.
S26361-F2814-E6 Backup drive and HDD should run on separate channels.
68-Pin Kit for accessible drives
Cable with Terminator
To connect acc. drives to
If internal HDD's are connected at the RAID controller
separate SCSI controller
(not IME/ZCR), then for internal accessible drives
max. 1x per system
the cable S26361-F2814-E6 must be ordered additionally!
I
Fujitsu Siemens Computers
Enterprise Products - PRIMERGY Server
14 of 18

Other manuals for Fujitsu PRIMERGY TX150 S4

Related product manuals