EasyManua.ls Logo

Gates MC3001 - Working Principle; Hydraulic System

Gates MC3001
19 pages
Print Icon
To Next Page IconTo Next Page
To Next Page IconTo Next Page
To Previous Page IconTo Previous Page
To Previous Page IconTo Previous Page
Loading...
USER GUIDE – MC3001
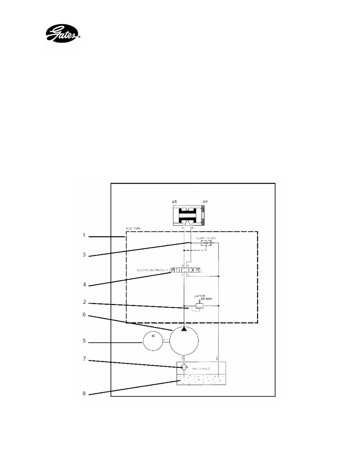
2.3. – WORKING PRINCIPLE:
This machine is comprised of 3 main systems: the hydraulic circuit, the crimping head with numerical
set stop for crimp adjustment, and the electrical system.
2.3.1. – HYDRAULIC SYSTEM:
This supplies the energy necessary to move the dies.
Composition:
The hydraulic circuit is comprised of (see figures 1 and 2)
- a drilled block (1)
- a pressure limiter (2)
- a pilot valve (3)
- a control valve (4)
- a motor (5)
- a pump (6)
- a suction filter (7)
- an oil tank (8)
Figure 1 : Hydraulic circuit diagram
5

Related product manuals