EasyManua.ls Logo

Generac Power Systems C Option - Page 37

Generac Power Systems C Option
52 pages
Print Icon
To Next Page IconTo Next Page
To Next Page IconTo Next Page
To Previous Page IconTo Previous Page
To Previous Page IconTo Previous Page
Loading...
Generac
®
Power Systems, Inc. 35
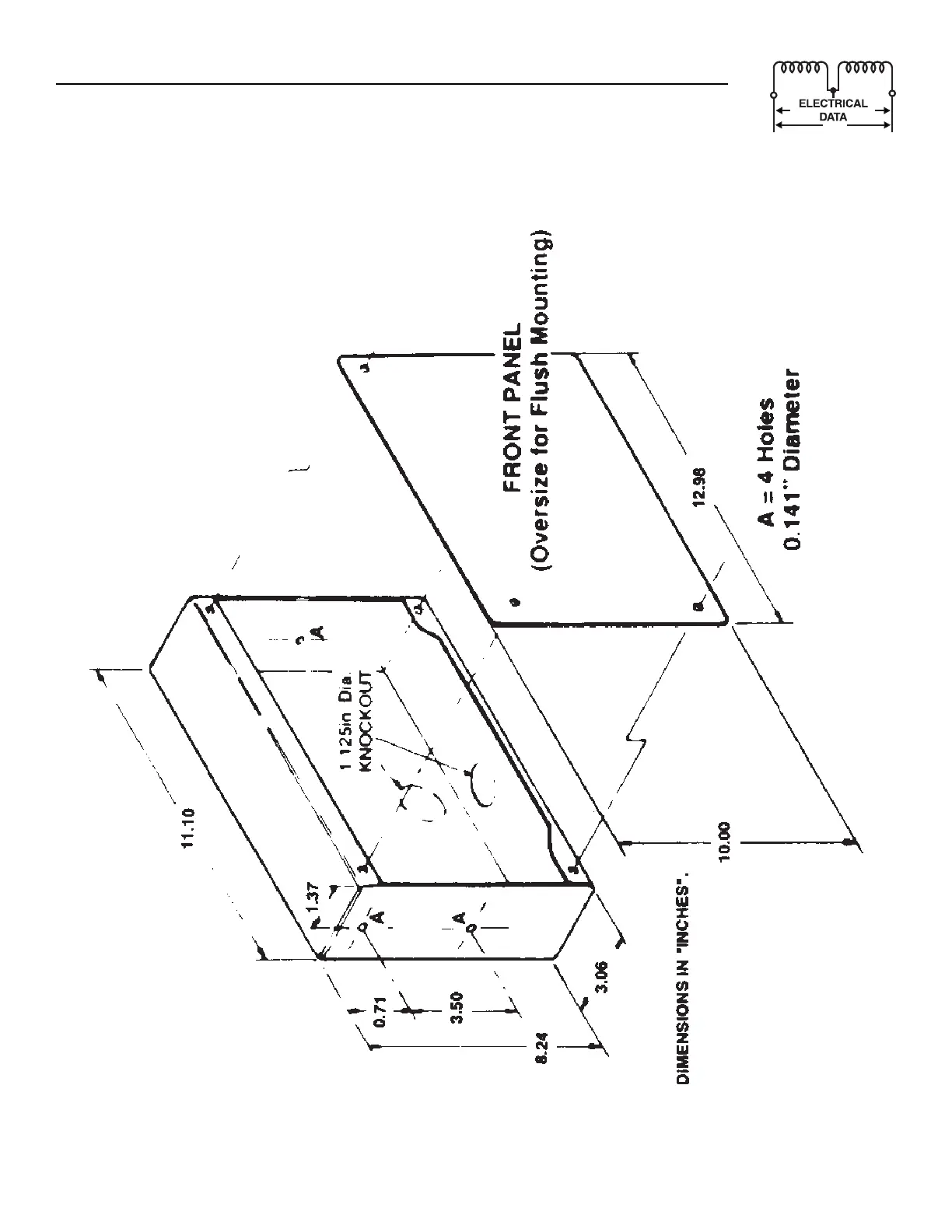
Appendix 4 — Electrical Data
18 Light Remote Annunciator
Mounting Dimensions

Table of Contents

Related product manuals