EasyManua.ls Logo

Globaljig Quick Pull - Page 32

Default Icon
37 pages
Print Icon
To Next Page IconTo Next Page
To Next Page IconTo Next Page
To Previous Page IconTo Previous Page
To Previous Page IconTo Previous Page
Loading...
32
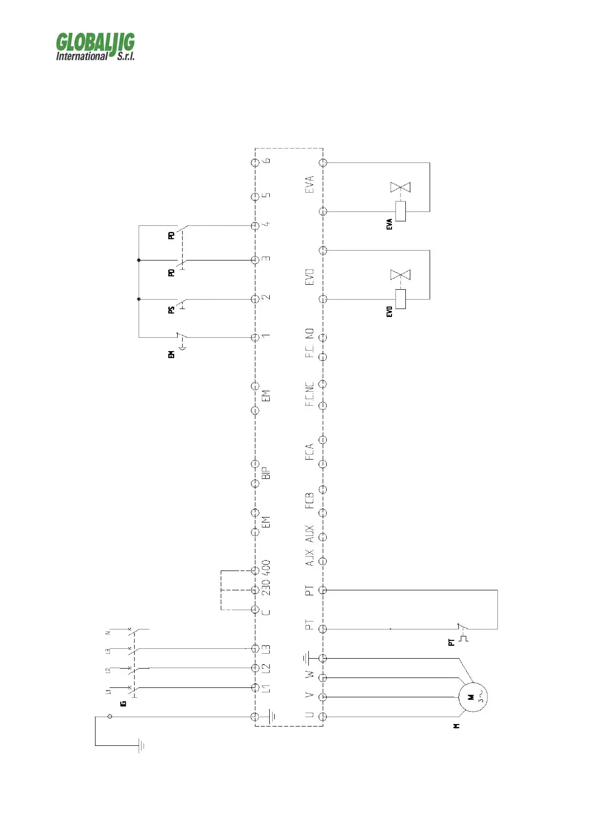
ELECTRONIC BOARD

Related product manuals