EasyManua.ls Logo

Graco 224342 - Dimensions; Mounting Hole Layout

Graco 224342
26 pages
Print Icon
To Next Page IconTo Next Page
To Next Page IconTo Next Page
To Previous Page IconTo Previous Page
To Previous Page IconTo Previous Page
Loading...
24 308116
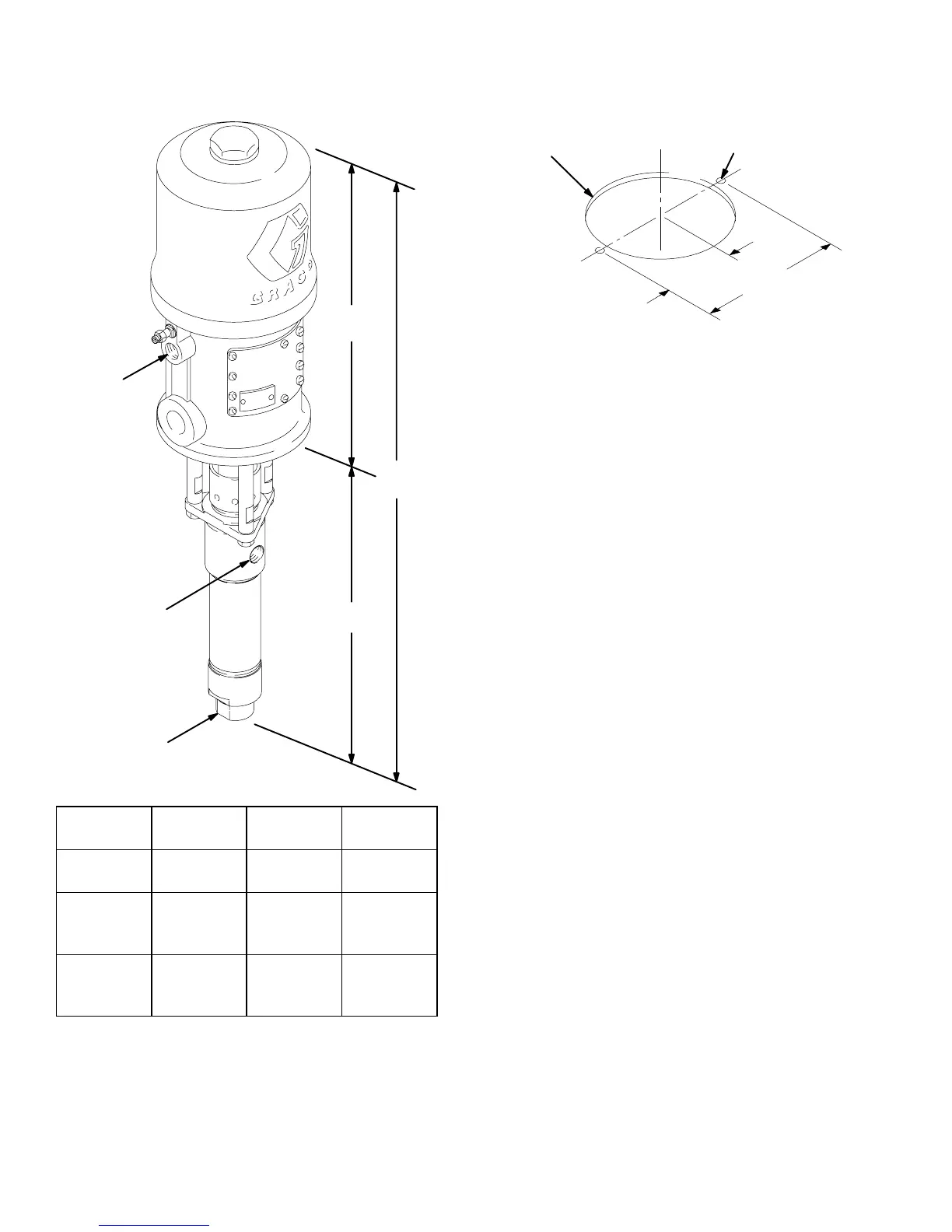
Dimensions
Model 224342 Shown
A
C
1/2 npt(f)
FLUID OUTLET
B
3/4 npt(f)
FLUID INTAKE
1/2 npt(f)
AIR INLET
0195
Pump
Model
A B C
224342 28.38 in.
(721 mm)
14.63 in.
(372 mm)
13.75 in.
(349 mm)
224343
902147
247147
25.25 in.
(641 mm)
11.5 in.
(292 mm)
13.75 in.
(349 mm)
261630 26.25
(667 mm)
14.63
(372 mm)
13.75 in.
(349 mm)
Mounting Hole
Layout
0.28 in. (7.1 mm) DIA.
5.0 in.
(127 mm)
2.5 in.
(64 mm)
4.38 in.
(111.3 mm)
DIA.
0775

Related product manuals