EasyManua.ls Logo

Graco Reactor 2 E-30 - Page 103

Graco Reactor 2 E-30
116 pages
Print Icon
To Next Page IconTo Next Page
To Next Page IconTo Next Page
To Previous Page IconTo Previous Page
To Previous Page IconTo Previous Page
Loading...
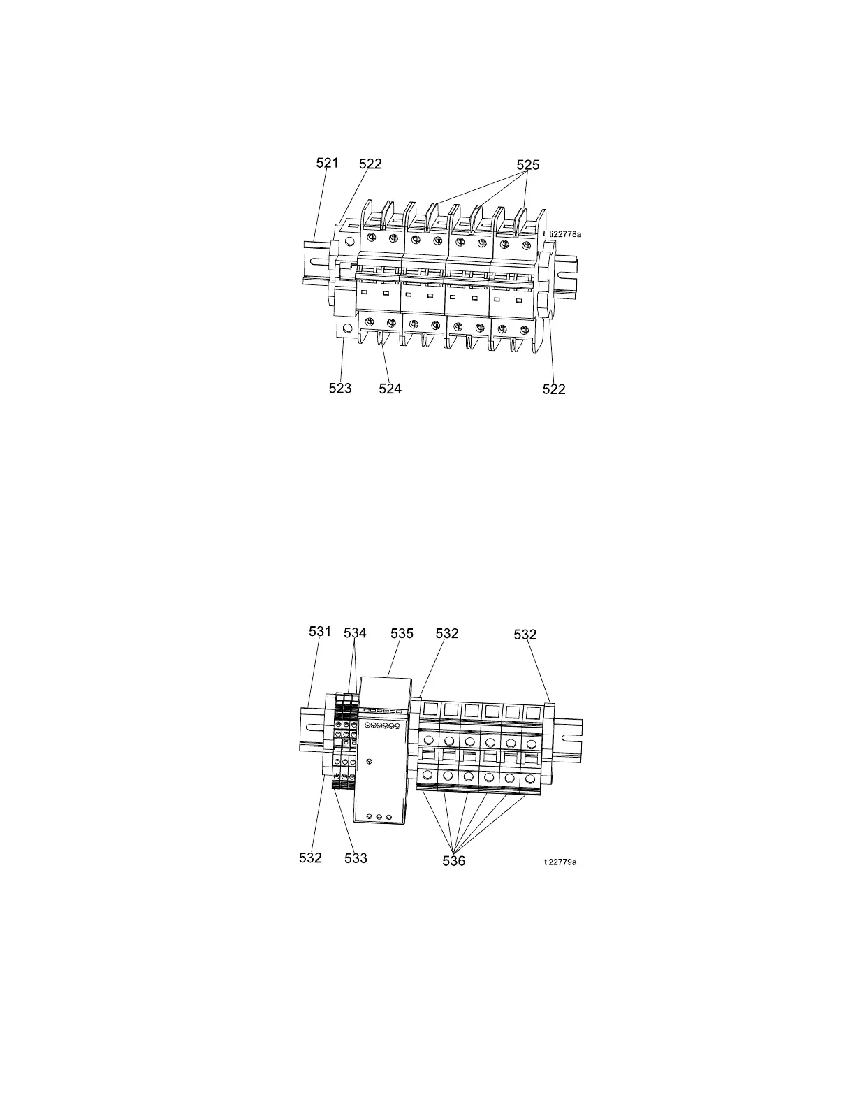
Parts
System Circui
t Breaker Module
16U526
Ref Part Description Qty
521 514014
RAIL, DIN; 35 mm x
7.5 mm x 8.625 in.
1
522 120838
TERMINAL, end stop
2
523
17A319
CIRCUIT, breaker, 1
pole, 50A, C Curve
1
Ref Part Description Qty
524
17A314
CIRCUIT, breaker, 2P,
20A, UL489
1
525
17A317
CIRCUIT, breaker, 2P,
40A, UL489
3
Power Supply and Terminal Block Module
16U522
Ref Part Description Qty
531 514014
RAIL,DIN;35mmx7.5
mm x 8.625 in.
1
532 120838
TERMINAL, end stop
3
533
24R722
BLOCK, ter minal PE ,
quad, ABB
1
Ref Part Description Qty
534
24R723
BLOCK, terminal, quad
M4, ABB
2
535 126453
POWER SUPPLY, 24V
1
536
24R724
BLOCK, terminal, U T35
6
333024N 103

Other manuals for Graco Reactor 2 E-30

Related product manuals