EasyManua.ls Logo

GRASS VALLEY K2 - Page 85

GRASS VALLEY K2
394 pages
Print Icon
To Next Page IconTo Next Page
To Next Page IconTo Next Page
To Previous Page IconTo Previous Page
To Previous Page IconTo Previous Page
Loading...
July 3, 2007 K2 Storage System Instruction Manual 85
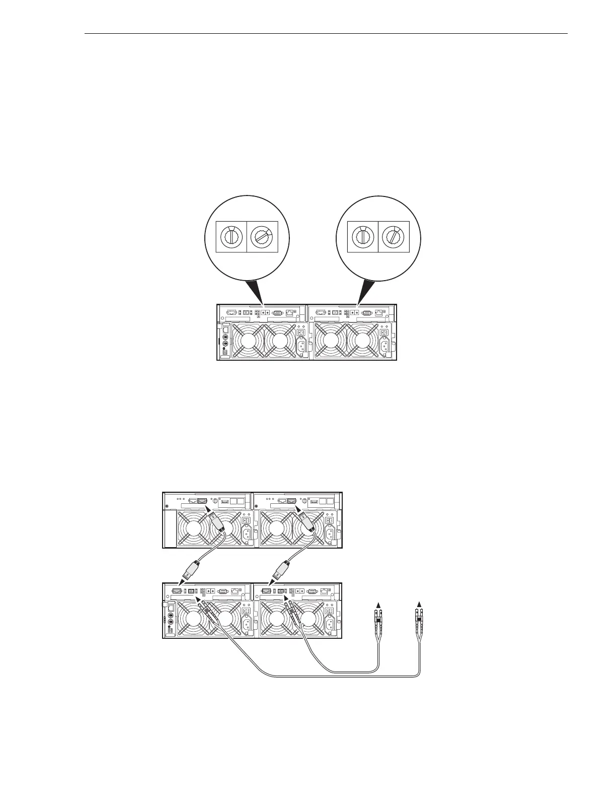
Setting up the L2 RAID chassis
Assign Fibre Channel address ID
Every RAID controller must have a unique Fibre Channel address ID that identifies
the controller on the Fibre Channel fabric. To set the Fibre Channel address ID on the
L2 RAID, refer to the following diagram:
Connect the L2 RAID chassis
Connect Ethernet and diagnostic cabling as shown in the following diagram. Be aware
of the following cabling requirements of the Level 2 storage devices:
Set a unique Fibre Channel address on
both L2 RAID controllers.
0
2
Address ID = 2
0
1
Address ID = 1
Connect Fibre Channel cabling.
L2 RAID
Chassis
L2 RAID
Expansion
Chassis
(if installed)
Maximum of 1 Expansion Chassis
To media
server A
To media
server B

Table of Contents

Other manuals for GRASS VALLEY K2