EasyManua.ls Logo

Gree GFH09K3FI

Gree GFH09K3FI
164 pages
To Next Page IconTo Next Page
To Next Page IconTo Next Page
To Previous Page IconTo Previous Page
To Previous Page IconTo Previous Page
Loading...
73
U-Match Series DC
Inverter Service Manual
&$87,21
ķ
The power source capacity must be the sum of the air conditioner current and the current of other
HOHFWULFDODSSOLDQFHV:KHQWKHFXUUHQWFRQWUDFWHGFDSDFLW\LVLQVXIILFLHQWFKDQJHWKHFRQWUDFWHG
capacity.
ĸ
:KHQWKHYROWDJHLVORZDQGWKHDLUFRQGLWLRQHULVGLI¿FXOWWRVWDUWFRQWDFWWKHSRZHUFRPSDQ\WRUDLVHWKH
voltage.
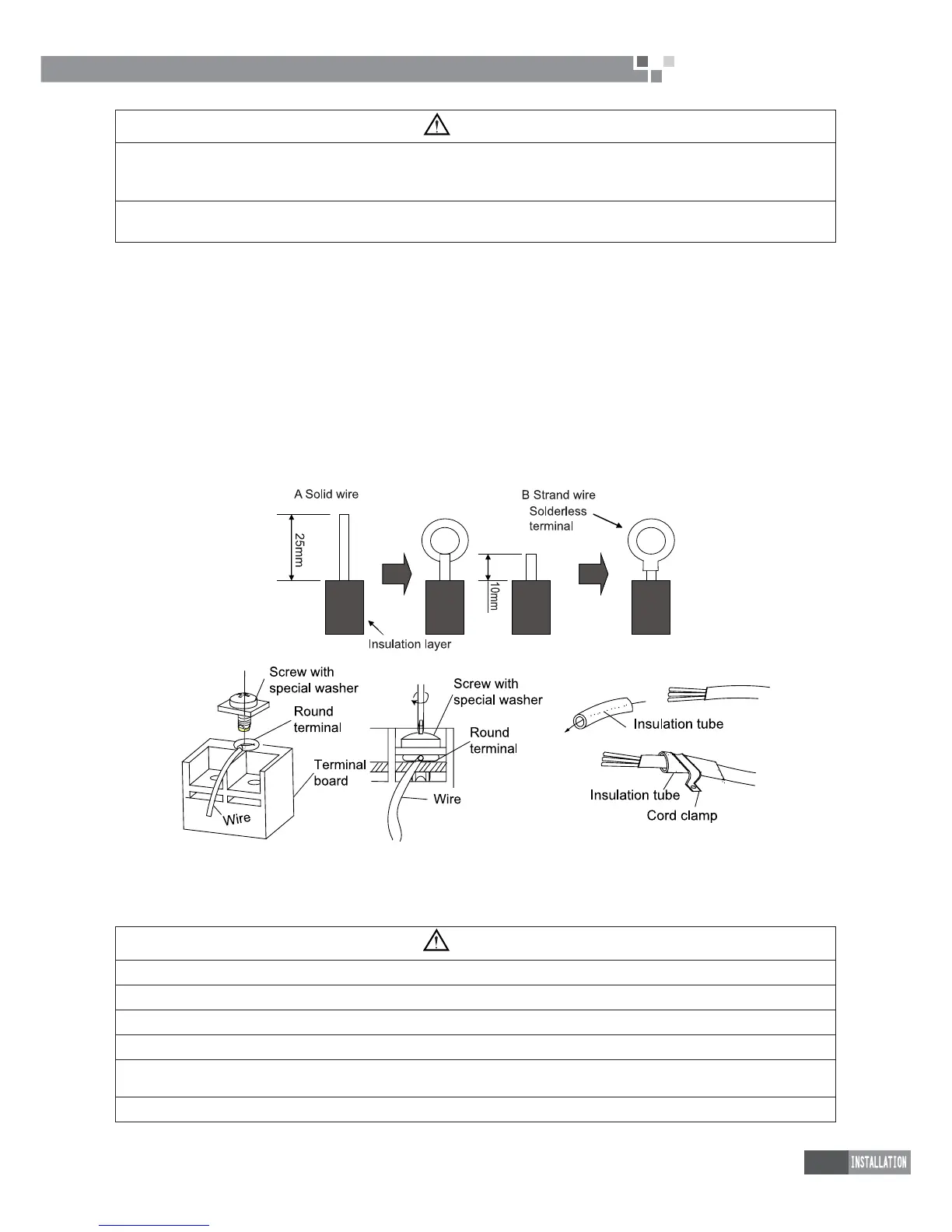
4.2 Electrical Wiring
(1). )RUVROLGFRUHZLULQJ)LJXUH
&XWWKHZLUHHQGZLWKDZLUHFXWWHURUZLUHFXWWLQJSOLHUVWKHQVWULSWKHLQVXODWLRQDERXWPP
8VLQJDVFUHZGULYHUUHPRYHWKHWHUPLQDOVFUHZVRQWKHWHUPLQDOERDUG
8VLQJSOLHUVEHQGWKHVROLGZLUHWRIRUPDORRSVXLWDEOHIRUWKHWHUPLQDOVFUHZ
4). Shape the loop wire properly, place it on the terminal board and tighten securely with the terminal
screw using a screwdriver.
(2). )RUVWUDQGZLULQJ)LJXUH
&XWWKHZLUHHQGZLWKDZLUHFXWWHURUZLUHFXWWLQJSOLHUVWKHQVWULSWKHLQVXODWLRQDERXWPP
8VLQJDVFUHZGULYHUUHPRYHWKHWHUPLQDOVFUHZVRQWKHWHUPLQDOERDUG
8VLQJDURXQGWHUPLQDOIDVWHQHURUSOLHUVVHFXUHO\FODPSDURXQGWHUPLQDOWRHDFKVWULSSHGZLUHHQG
4). Position the round terminal wire, and replace and tighten the terminal screw with a screwdriver.( Figure

Figure 3-2-6
)LJXUH)LJXUH
(3). +RZWR¿[FRQQHFWLRQFRUGDQGSRZHUFRUGE\FRUGFODPS
After passing the connection cord and power cord through the insulation tube, fasten it with the cord
FODPS)LJXUH
WARNING!
ķ
Before starting work, check that power is not being supplied to the indoor unit and outdoor unit.
ĸ
Match the terminal block numbers and connection cord colors with those of the indoor unit side.
Ĺ
Erroneous wiring may cause burning of the electric parts.
ĺ
&RQQHFWWKHFRQQHFWLRQFRUGV¿UPO\WRWKHWHUPLQDOEORFN,PSHUIHFWLQVWDOODWLRQPD\FDXVHD¿UH
Ļ
Always fasten the outside covering of the connection cord with cord clamps. (If the insulator is not
clamped, electric leakage may occur.)
ļ
Always connect the ground wire.

Table of Contents

Other manuals for Gree GFH09K3FI

Related product manuals