EasyManua.ls Logo

Greenbridge PC1000 - Feeding Pressure Adjustment

Default Icon
218 pages
Print Icon
To Next Page IconTo Next Page
To Next Page IconTo Next Page
To Previous Page IconTo Previous Page
To Previous Page IconTo Previous Page
Loading...
-A24-
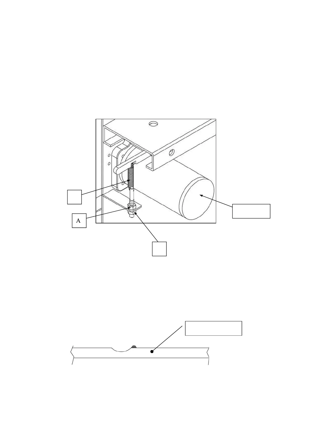
5.2
Adjustment for Feeding Pressure to the Accumulator Box
The machine has been already well set for enough feeding pressure offering enough
strength for pulling strap from strap coil to accumulator box. It might be necessary for
some adjustments to increase feeding pressure if you are using smooth strap.
When it‟s necessary for increasing the feeding pressure, please loosen the Nut A and turn
Nut C upwards to increase the strength of Spring B. Be sure to tighten Nut A by turning
it counterclockwise after adjustments.
Caution!
Too much feeding pressure could lead to feeding problem as the strap would be
scraped by the rollers easily.
Insufficient feeding pressure would lead to short feed problem as the strap is
insufficient in the accumulator box.
B
M4 Motor
C
Thickness of strap