EasyManua.ls Logo

Grizzly G1022PRO - Wiring Diagrams

Grizzly G1022PRO
72 pages
Print Icon
To Next Page IconTo Next Page
To Next Page IconTo Next Page
To Previous Page IconTo Previous Page
To Previous Page IconTo Previous Page
Loading...
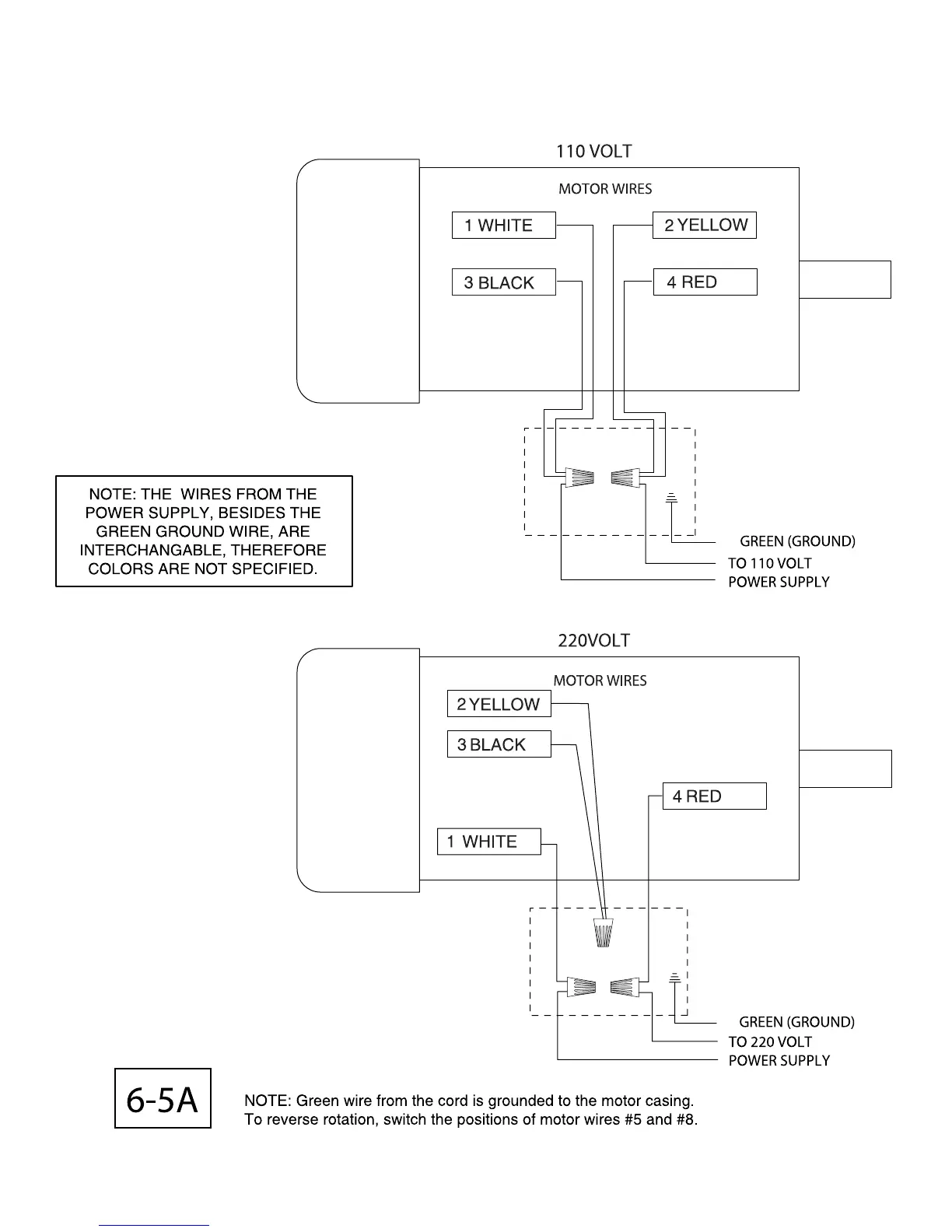
-44- G1022 Series Contractor Saws
G1022ZF, ZFX AND PRO WIRING DIAGRAM

Related product manuals