EasyManua.ls Logo

Groen NFPC series - Page 21

Groen NFPC series
24 pages
To Next Page IconTo Next Page
To Next Page IconTo Next Page
To Previous Page IconTo Previous Page
To Previous Page IconTo Previous Page
Loading...
OM-NFPC
21
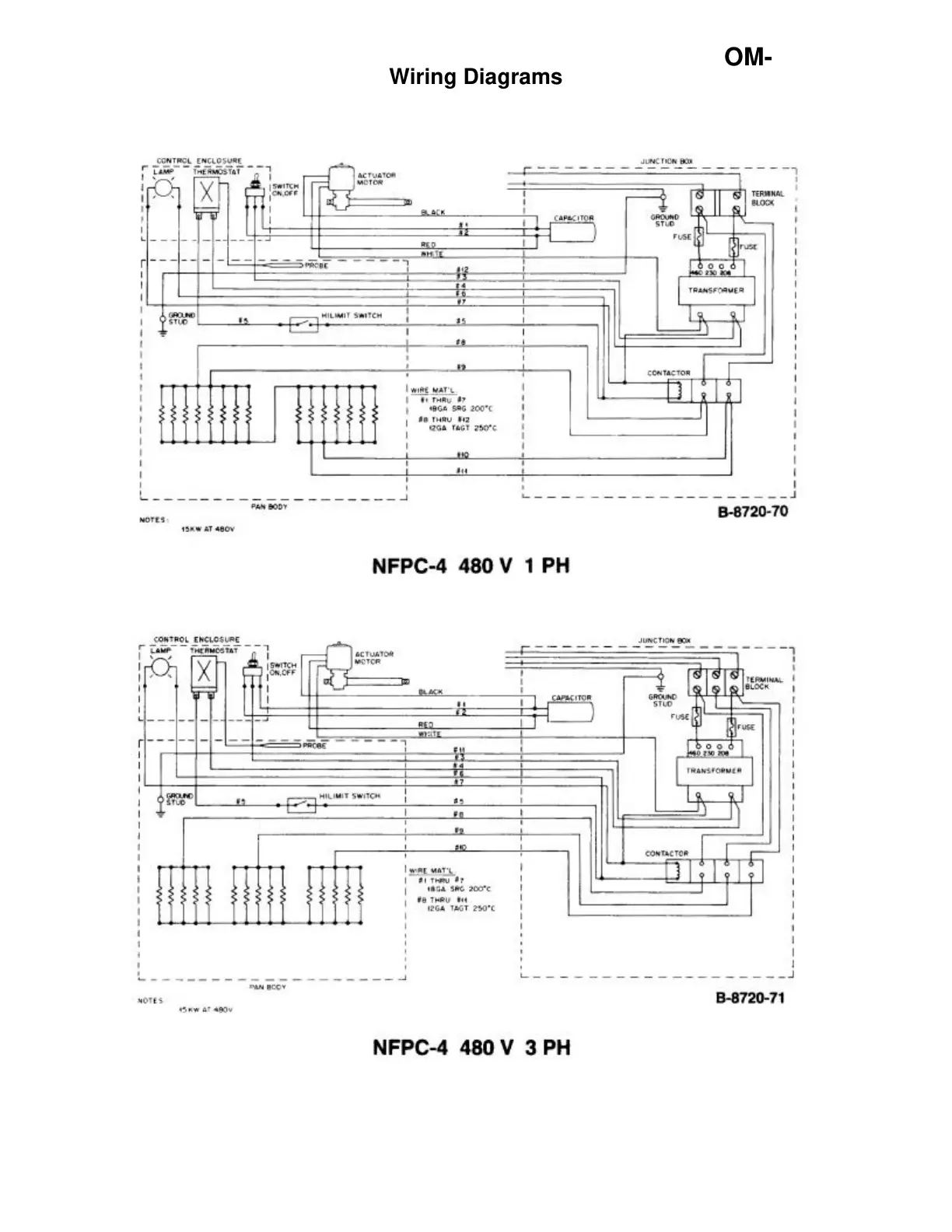
Wiring Diagrams

Related product manuals