EasyManua.ls Logo

Grundfos DDI 150-4

Grundfos DDI 150-4
632 pages
To Next Page IconTo Next Page
To Next Page IconTo Next Page
To Previous Page IconTo Previous Page
To Previous Page IconTo Previous Page
Loading...
Svenska (SE)
443
4.3 Allmän beskrivning
DDI 222 är en doseringspump med en EC-motor (borstlös lik-
strömsmotor) som drivenhet och elektronisk effektreglering.
Pumpen hanteras via den snedställda displayen med en använ-
darvänlig menystruktur.
Pumpen har en säkerhetsfunktion mot övertryck. När ett inställ-
bart avstängningstryck uppnås kan pumpen stängas av automa-
tiskt.
DDI 222 finns i många olika versioner. Se även avsnitt
1. Allmän
information
.
Alternativ:
Pumpen kan även vara utrustad med följande:
sensor för detektering av läckande membran (MBS)
gränssnitt för PROFIBUS.
Funktionerna beskrivs, men gäller bara tillämplig pumpversion.
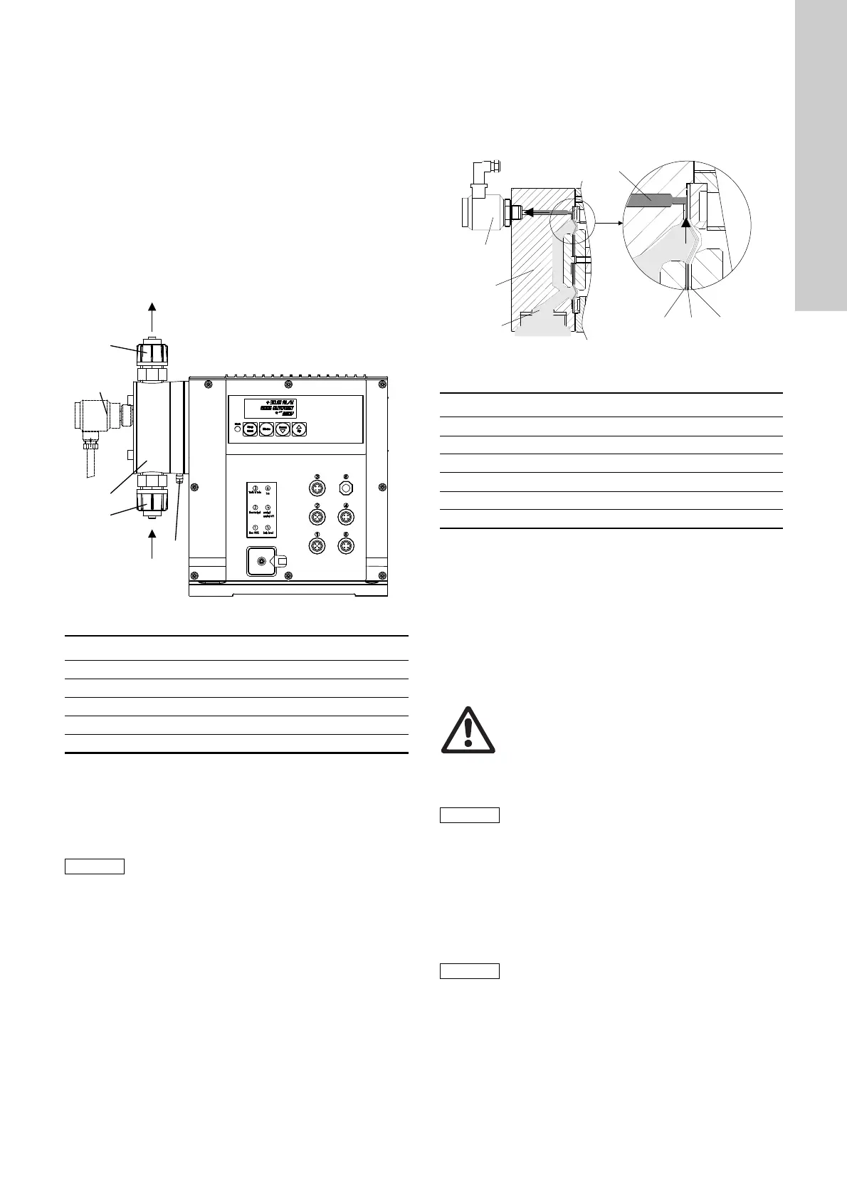
Fig. 2 DDI 222
4.3.1 HV-variant för vätskor som är mer viskösa än vatten
Alla HV-variantpumpar är utrustade med fjäderbelastade
DN 20-ventiler med ett öppningstryck på 0,1 bar (eller 0,8 bar på
trycksidan) och anslutning för PVC-rör 19 x 27. DDI 60-10 har ett
särskilt doseringshuvud.
4.4 Säkerhetsfunktioner
4.4.1 Detektering av läckande membran (tillval)
Pumpar med signal för läckande membran har ett särskilt dose-
ringshuvud med en membransats och en tryckbrytare.
Tryckbrytaren (hylsa 1) är monterad och ansluten till pumpen
vid leverans.
Fig. 3 Doseringshuvud med membransats och tryckbrytare
för detektering av läckande membran
I händelse av att membranet läcker:
Doseringsmediet tränger ut mellan det arbetande membranet
och skyddsmembranet och överförs till tryckbrytaren via sig-
nalmembranet.
Vid nästa tryckslag, anbringas tryck på tryckbrytaren som akti-
veras. Pumpen visar ett felmeddelande men driften fortsätter.
Elektroniken styr två brytare, som exempelvis kan användas
för att utlösa ett larm eller för att stänga av pumpen.
I nödfall kan pumpen fortsätta driften under en kort tid.
4.4.2 Tryckreglering
Pumpen DDI 222 har en tryckregleringsfunktion.
Trycket beräknas av motorns strömförbrukning eller mäts direkt i
doseringshuvudet om en trycksensor finns (pumpalternativ med
flödesmonitor). Vid ett av användaren angivet tryck stängs pum-
pen automatiskt av.
Denna funktion skyddar pumpen, men inte systemet.
Vi rekommenderar att systemet skyddas med en överströmnings-
ventil.
Denna funktion kan aktiveras och avaktiveras på elektronikens
andra funktionsnivå.
TM03 6661 4506
Pos. Komponenter
3a Inloppsventil
3b Utloppsventil
2 Doseringshuvud
D Tryckbrytare för membranläckagesensor (tillval)
H Dräneringsöppning
Anm.
Observera att HV-variantpumpen har andra dimensi-
oner än standardpumpen och att andra ledningsdi-
mensioner kanske krävs!
3a
3b
2
D
H
TM03 6611 4506
Pos. Komponenter
2 Doseringshuvud
D Tryckbrytare
L Doseringsmedier
Q1 Arbetande membran
Q2 Signalmembran (mellanlager tillverkat av textil)
Q3 Skyddsmembran
Varning
Risk för explosion om doseringsvätskan har kommit
in i pumphuset!
Om membranet kan vara skadat, ska inte pumpen
anslutas till strömförsörjningen! Fortsätt enligt anvis-
ningarna i avsnitt
10.5 Membran trasigt!
Varning
När ett läckande membran har detekterats måste
tryckbrytaren kontrolleras. Om tryckbrytarens mem-
bran är trasigt eller påverkat av doseringsvätskan
måste tryckbrytaren bytas ut.
Varning
Installera en överströmningsventil på utlopps-
ledningen för att skydda pumpen och systemet mot
för hög tryckstegring.
Q1 Q2 Q3
2
D
L
L

Table of Contents

Related product manuals