EasyManua.ls Logo

GSW 6G40NAV - TYPICAL INSTALLATION; REPLACEMENT PARTS AND DELIMING PRODUCTS; COMBO HEATING INLET AND OUTLET SIDE TAPS

GSW 6G40NAV
112 pages
Print Icon
To Next Page IconTo Next Page
To Next Page IconTo Next Page
To Previous Page IconTo Previous Page
To Previous Page IconTo Previous Page
Loading...
8 www. gsw-wh .com 328765-000
Natural gas and Propane main
burner with igniter assembly for
40k and 45k Btu/hr models
41
43
39
36
38
40
37
35
18
42
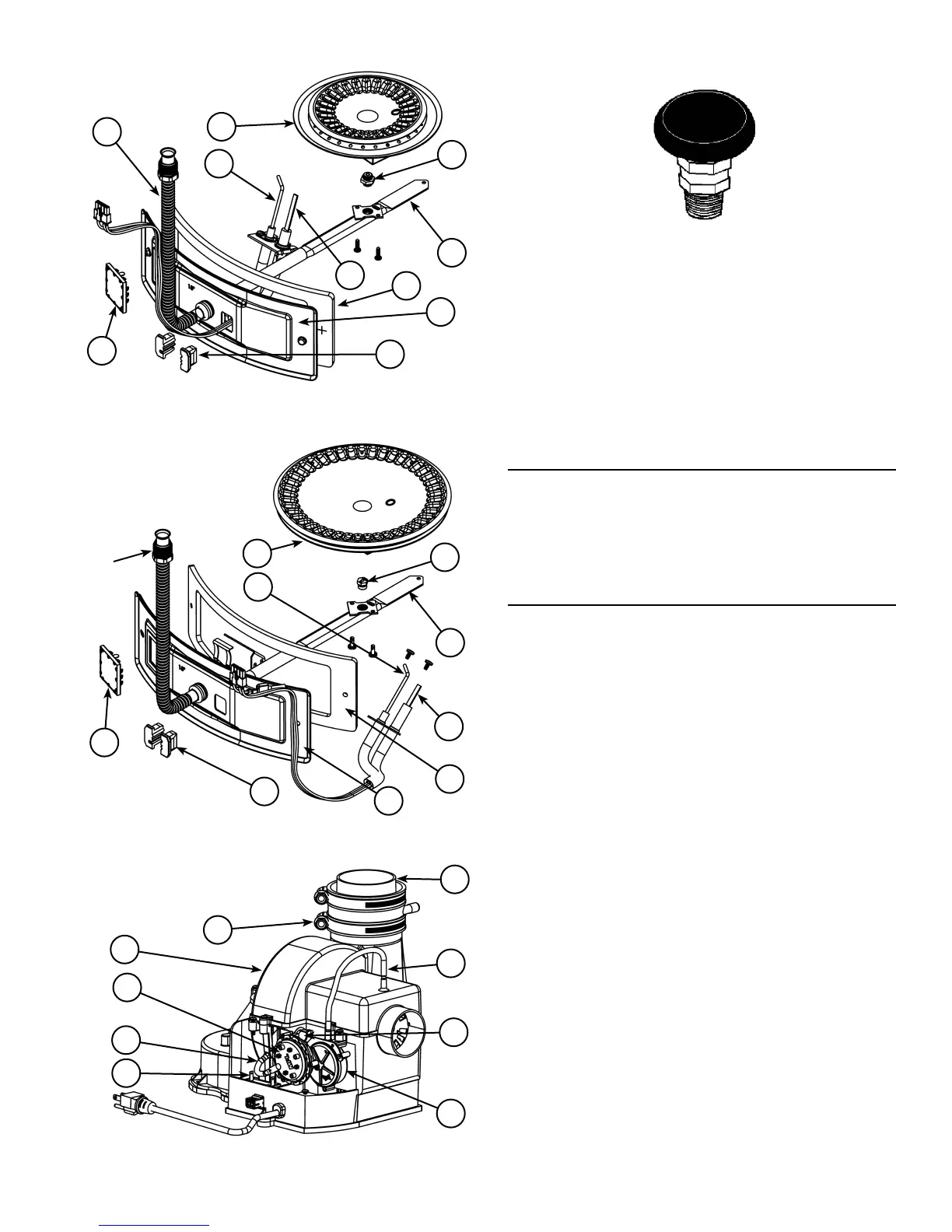
Figure 3
Natural gas and Propane
(LP) main burner with
igniter assembly for 58k,
62k, 72k and 76k Btu/hr
models
Flare
Nut
††
41
43
39
36
38
40
37
35
42
Figure 4
28
29
44
46
30
49
Shown with
Junction Box Cover
removed for clarity.
45
48
47
Figure 5
Vacuum relief valve
install per local
codes (not supplied
with heater).
Figure 6
Notes:
* Items not supplied with the water heater.
** The side recirculation loop connections may not be
used as the primary water inlet and outlet connections.
See “Combo Heating Inlet And Outlet Side Taps”
below.
*** Caution harness has 120 VAC In operation.
**** See “Vent Pipe Installation” for more information.
REPLACEMENT PARTS AND DELIMING PRODUCTS
Replacement parts and recommended delimer may be
ordered through authorized servicers or distributors. When
ordering parts, provide complete model and serial numbers
(see rating plate), quantity and name of part desired.
Standard hardware items may be purchased locally.
COMBO HEATING INLET AND OUTLET SIDE TAPS
Models equipped with Combo Heating capabilities have
the two side plumbing taps plugged (item 7 and item 10 in
Figure 1 and see also Figure 7 & Figure 8). If the heater
is to be installed in a Combo Heating application, these
plugs must be removed.

Table of Contents

Related product manuals