EasyManua.ls Logo

Heath Zenith 121AC - Page 15

Heath Zenith 121AC
36 pages
Print Icon
To Next Page IconTo Next Page
To Next Page IconTo Next Page
To Previous Page IconTo Previous Page
To Previous Page IconTo Previous Page
Loading...
15
598-1142-03
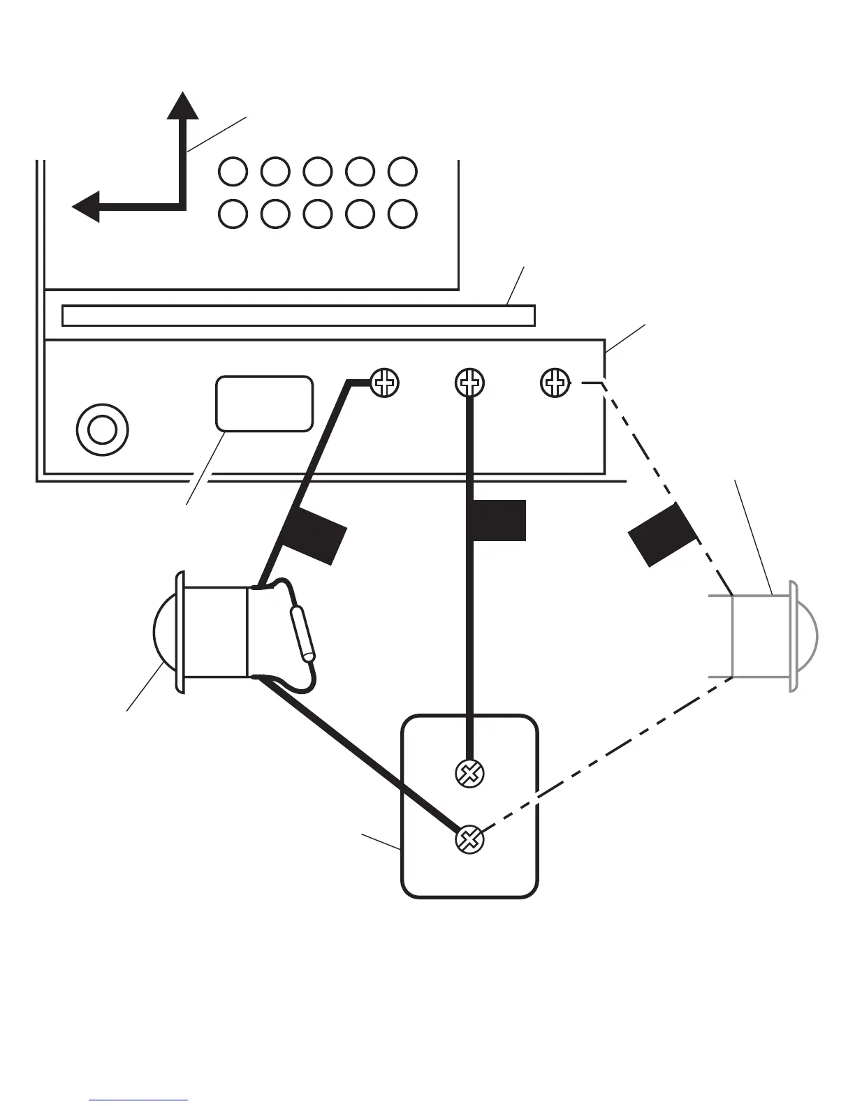
Figura 2
T
F
FRONT TRANS REAR
UP
R
Orificio de entrada del cable
Marca para la orientación del montaje
Ranura para guardar el manual
Campana
Pulsador posterior
(Si es aplicable)
Transformador
Pulsador delantero
con diodo

Related product manuals