EasyManua.ls Logo

Heath Zenith 121AC - Page 25

Heath Zenith 121AC
36 pages
Print Icon
To Next Page IconTo Next Page
To Next Page IconTo Next Page
To Previous Page IconTo Previous Page
To Previous Page IconTo Previous Page
Loading...
25
598-1142-03
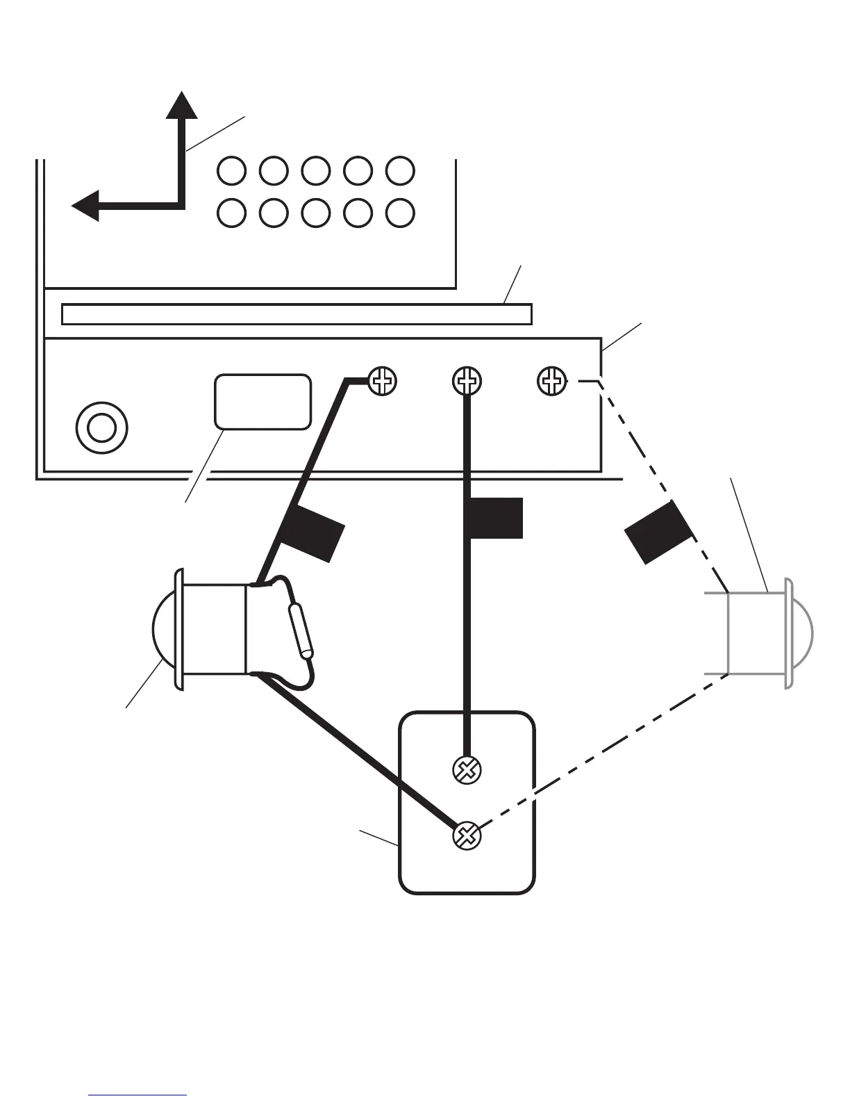
Figure 2
T
F
FRONT TRANS REAR
UP
R
Orifice d’entrée des fils
Marques du sens du montage
Tablette de rangement du guide
Carillon
Bouton-poussoir
d’entrée secondaire
(au besoin)
Transformateur
Bouton-poussoir
d’entrée principale
avec diode

Related product manuals