EasyManua.ls Logo

Heath Zenith 121AC - Page 5

Heath Zenith 121AC
36 pages
Print Icon
To Next Page IconTo Next Page
To Next Page IconTo Next Page
To Previous Page IconTo Previous Page
To Previous Page IconTo Previous Page
Loading...
5
598-1142-03
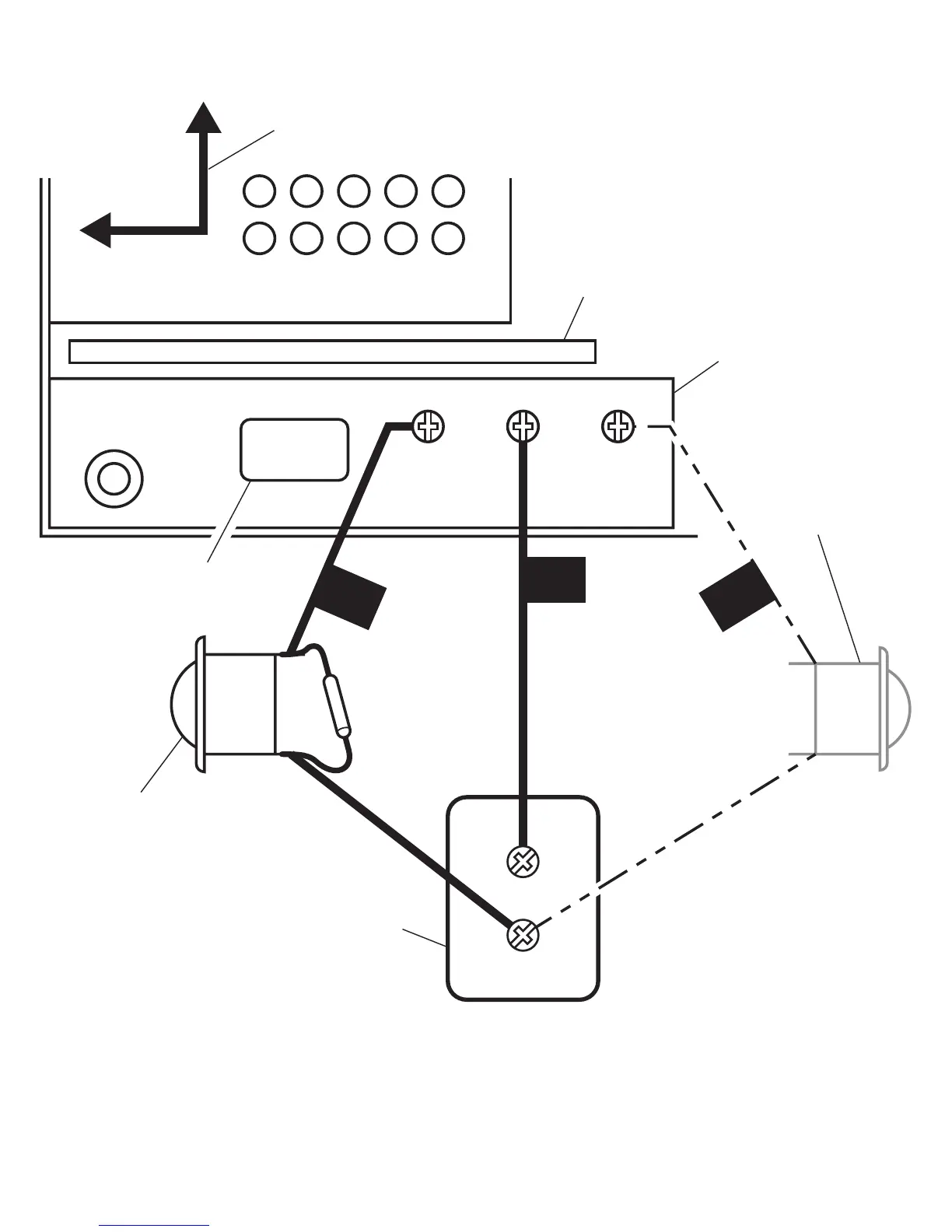
Figure 2
T
F
FRONT TRANS REAR
UP
R
Wire Entrance Hole
Mounting Orientation Marking
Manual Storage Slot
Chime
Rear Push Button
(If Applicable)
Transformer
Front Push Button
with Diode

Related product manuals