EasyManua.ls Logo

Hellenbrand PM6 IC Storm 10 - PM6 IC STORM Component Identification; Metered Control and Tank Assemblies; Filter Tank and Media Options; Bypass Valve and Ozone Generator Parts

Hellenbrand PM6 IC Storm 10
16 pages
Print Icon
To Next Page IconTo Next Page
To Next Page IconTo Next Page
To Previous Page IconTo Previous Page
To Previous Page IconTo Previous Page
Loading...
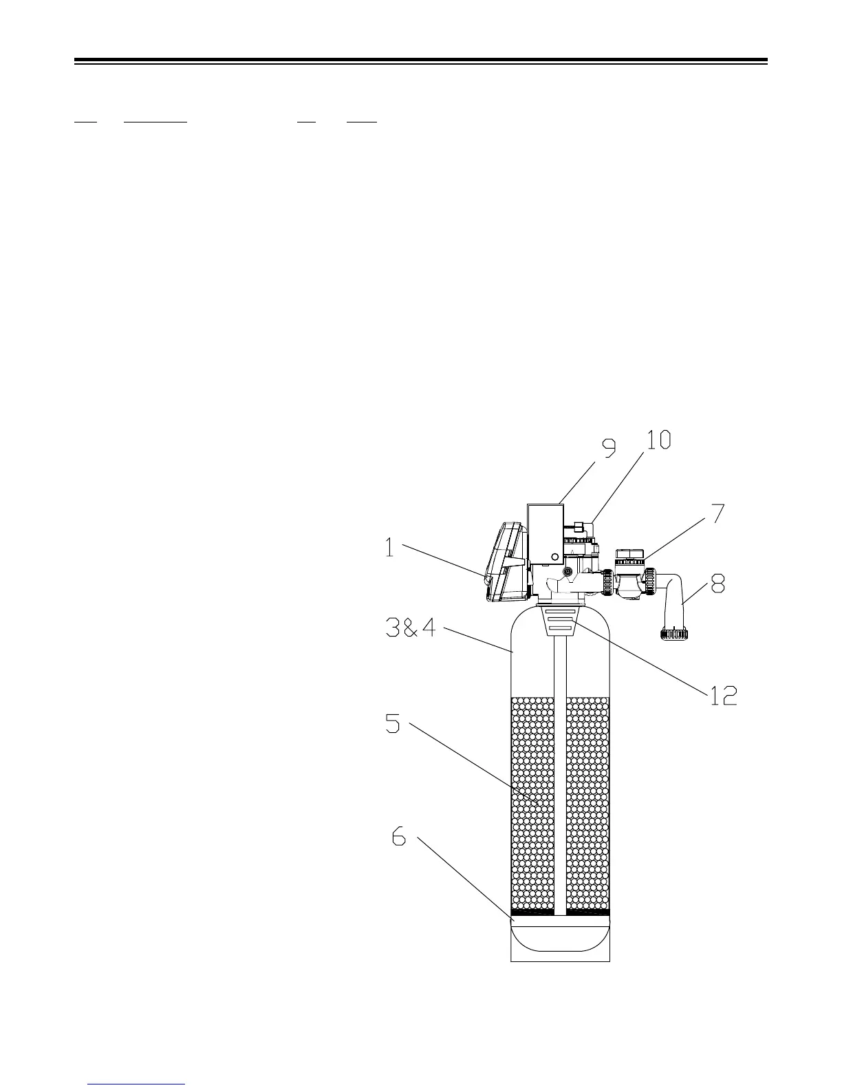
9
Item Description Qty Part #
1 Metered Control 1 110270, specify ow control
3&4 Mineral Tank Assembly
IC-Storm 1054 Filter Tank 1 104022 Tank & Distributor Tube Only
IC-Storm 1252 Filter Tank 1 108294 Tank & Distributor Tube Only
IC-Storm 1354 Filter Tank 1 108295 Tank & Distributor Tube Only
Replacement Tank with Media 1 110541 IC Storm 10 Tank, Natural, Vortech Standard with Media
110542 IC Storm 12 Tank, Natural, Vortech Standard with Media
110543 IC Storm 13 Tank, Natural, Vortech Standard with Media
5 Filter Media 110544 IC Storm 10 Rebed
110545 IC Storm 12 Rebed
110546 IC Storm 13 Rebed
6 Plate Distributor - (Part of Vortech Tank)
7 Bypass Valve 1 101325
8 In-line Check Valve Kit 1 104174 (includes 90º vertical adapter & in-line check valve)
9 Ozone Generator 1 110547
10 Check Valve/Elbow 1 110822
11 Tank Jackets - 10" 1 106745
12 Disperser Assy. 1 101547
PM6 IC STORM
Compatible with the following regenerants or chemicals: Sodium chloride, potassium permanganate, sodium bisulte, sodium
hydroxide, hydrochloric acid and chloramines. For specic regeneration systems, contact factory.

Related product manuals