EasyManua.ls Logo

Hitachi NT 65A3 - Page 18

Hitachi NT 65A3
45 pages
Print Icon
To Next Page IconTo Next Page
To Next Page IconTo Next Page
To Previous Page IconTo Previous Page
To Previous Page IconTo Previous Page
Loading...
--- 15 ---
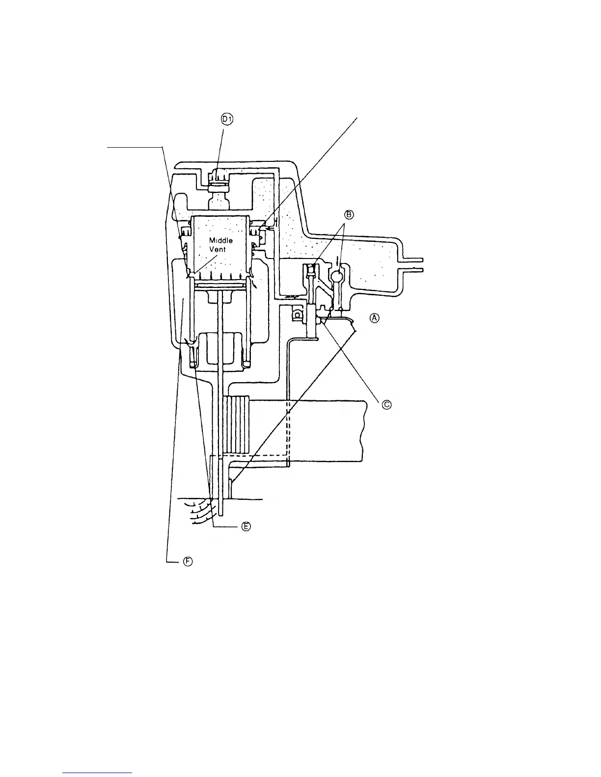
Fig. 5 When the trigger and pushing lever are operated
Although air pressure is applied to both the
upper and lower sides of the cylinder, the
cylinder is forced downward due to the larger
effective area of the upper side.
Accordingly, the upper portion of the cylinder is
opened, and the compressed air forces the
piston downward.
When the trigger and pushing lever are operated
simultaneously, the safety valve and trigger valve
are opened.
The trigger and pushing lever are operated
simultaneously.
(NOTE)
If either the trigger or pushing lever are
operated individually, compressed air will
not enter the valve air passage, and the
nailer will not function.
When the trigger and pushing lever are
operated simultaneously, the exhaust
vents are closed.
Compressed air is applied
to the upper side of the
Exhaust Valve < 2 >, forcing
it downward and closing
the Exhaust Vent < 3 >.
As the piston moves downward, the air below the piston
is forced into the Return Air Chamber < 8 >.
When the piston passes the middle vent, some of the air passes
into the return air chamber. This supplies auxiliary air to ensure
complete return of the piston.
Cylinder ring