EasyManua.ls Logo

HTP MODCON1000 - Page 46

HTP MODCON1000
81 pages
Print Icon
To Next Page IconTo Next Page
To Next Page IconTo Next Page
To Previous Page IconTo Previous Page
To Previous Page IconTo Previous Page
Loading...
46
LP- 428 REV. 9.2.14
Figure 25
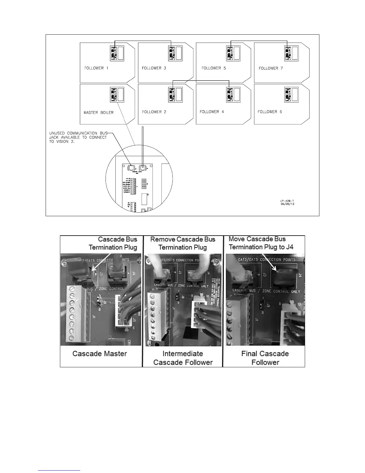
Figure 26 Cascade Resistor Plug Installation Detail

Table of Contents

Other manuals for HTP MODCON1000

Related product manuals