EasyManua.ls Logo

HydraMaster Boxxer 421 - Briggs and Stratton Voltage Regulator Modification

HydraMaster Boxxer 421
179 pages
Print Icon
To Next Page IconTo Next Page
To Next Page IconTo Next Page
To Previous Page IconTo Previous Page
To Previous Page IconTo Previous Page
Loading...
Page 11-35: Machine Assemblies and Parts List
Boxxer 421
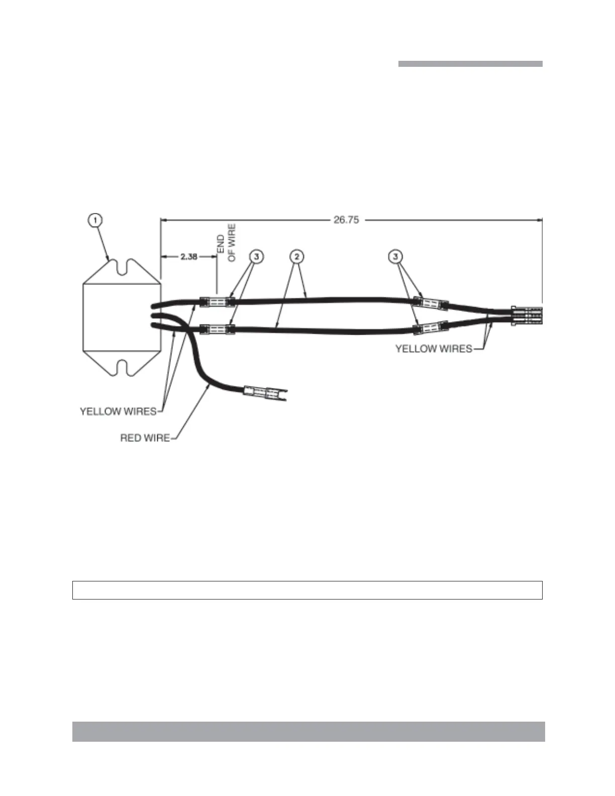
Figure 11-26 Briggs and Stratton Voltage Regulator Modification
B-3475 Rev -
1 - - - Briggs & Stratton Voltage Regulator 1
2 000-178-026 Wire, 16 AWG Yellow 2
3 000-037-033 Butt Connector, #22 Pink 4
Item Part Number Description Qty

Related product manuals