EasyManua.ls Logo

Hyster F004 - Page 19

Hyster F004
21 pages
Print Icon
To Next Page IconTo Next Page
To Next Page IconTo Next Page
To Previous Page IconTo Previous Page
To Previous Page IconTo Previous Page
Loading...
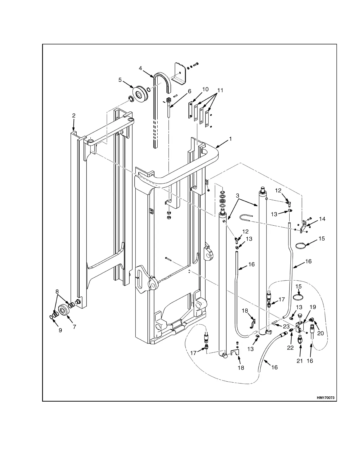
4000 SRM 736 Two-Stage Mast With Limited Free-Lift Repair
Figure 11. Two-Stage Mast With Limited Free-Lift - H3.50-5.50XM (H70-120XM) Model Lift Trucks
13

Related product manuals