EasyManua.ls Logo

IBC Technologies VFC 15-150 - Sequence of Operations Flowchart

IBC Technologies VFC 15-150
57 pages
Print Icon
To Next Page IconTo Next Page
To Next Page IconTo Next Page
To Previous Page IconTo Previous Page
To Previous Page IconTo Previous Page
Loading...
IBC Technologies Inc. 55 VFC 15-150 and VFC 45-225
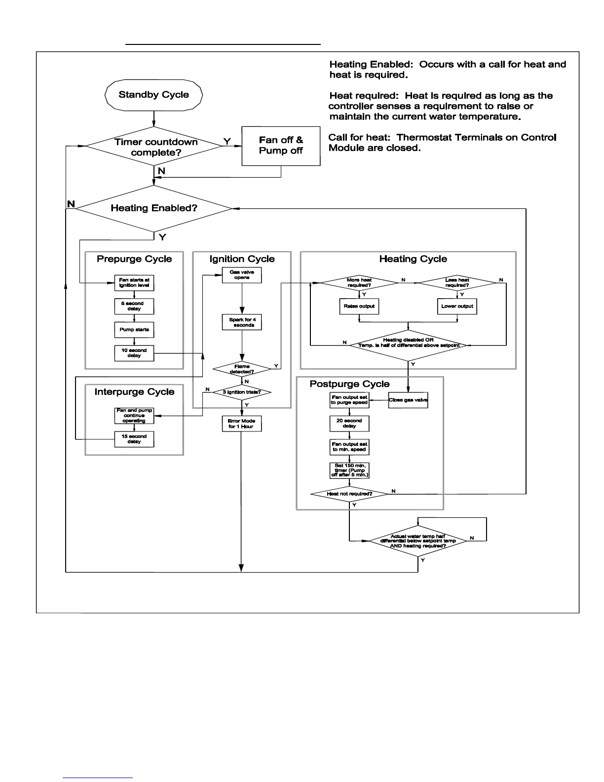
5.3 Sequence of Operations Flowchart

Related product manuals