EasyManua.ls Logo

IBM P96 - Einstellen des Monitors; Auswählen der Sprache für die Bildschirmanzeigen; Einstellen von Bildhelligkeit und Kontrast; Das Bildschirmmenüsystem

IBM P96
128 pages
Print Icon
To Next Page IconTo Next Page
To Next Page IconTo Next Page
To Previous Page IconTo Previous Page
To Previous Page IconTo Previous Page
Loading...
Einstellen des Monitors
6
Das Bildschirmmenüsystem
Die meisten Einstellungen nehmen Sie über die
Bildschirmanzeige MENU vor.
Bildschirmanzeige MENU
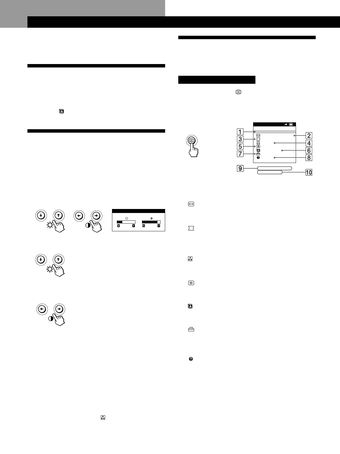
Rufen Sie mit der Taste die Bildschirmanzeige MENU
(das Menü) auf.
Die Bildschirmanzeige MENU enthält Links zu den anderen
Bildschirmanzeigen, die im folgenden beschrieben werden.
1 ENDE
Zum Schließen der Bildschirmanzeige MENU.
2 GRÖSSE/BILDLG
Im Menü GRÖSSE/BILDLG können Sie Größe, Position
und Zoom des Bildes einstellen.
3 GEOMETRIE
Zum Aufrufen der Bildschirmanzeige GEOMETRIE,
mit der Sie die Bildrotation und Kissenverzeichnung
usw. korrigieren können.
4 FARBE
Zum Aufrufen der Bildschirmanzeige FARBE, mit der
Sie die Farbtemperatur einstellen können.
5 KONVERGENZ
Im Menü KONVERGENZ können Sie die horizontale
und vertikale Konvergenz des Bildes einstellen.
6 LANGUAGE
Zum Aufrufen der Bildschirmanzeige LANGUAGE, mit
der Sie die Sprache auswählen können.
7 OPTION
Zum Aufrufen der Bildschirmanzeige OPTION, mit der
Sie die Position der Bildschirmanzeigen einstellen und
den Bildschirm entmagnetisieren können usw.
8 HILFE
Rufen Sie das Menü HILFE auf, um nützliche Tips und
Informationen zu diesem Monitor anzeigen zu lassen.
9 Horizontal- und Vertikalfrequenz des
aktuellen Eingangssignals
Hier werden die Horizontal- und die Vertikalfrequenz
des aktuellen Eingangssignals angezeigt.
Auflösung des aktuellen Eingangssignals
Wenn das Signal einem der werkseitig voreingestellten
Modi des Monitors entspricht, wird auch die Auflösung
angezeigt.
Vorbereitungen
Verbinden Sie den Monitor mit dem Computer, und
schalten Sie beide Geräte ein.
Auswählen der Sprache für die
Bildschirmanzeigen
Wenn Sie die Sprache für die Bildschirmanzeigen ändern
wollen, schlagen Sie unter „Die Bildschirmanzeige
LANGUAGE
“ auf Seite 11 nach.
Die Standardeinstellung ist „English“.
Einstellen von Bildhelligkeit und
Kontrast
Der Wert, den Sie hier einstellen, wird für alle eingespeisten
Eingangssignale gespeichert.
1 Drücken Sie die Tasten ¨ (Helligkeit) ./> oder
> (Kontrast) ?//.
Die Bildschirmanzeige HELLIGKEIT/KONTRAST
erscheint.
2 Zum Einstellen der Helligkeit
Drücken Sie die Tasten ¨./>.
> . . . Das Bild wird heller.
. . . . Das Bild wird dunkler.
Zum Einstellen des Kontrasts
Drücken Sie die Tasten >?//.
/ . . . Der Kontrast wird stärker.
? . . . Der Kontrast wird schwächer.
Die Bildschirmanzeige wird nach etwa 3 Sekunden
automatisch ausgeblendet.
Drücken Sie zum Zurücksetzen des Wertes die Taste
? (Zurücksetzen), bevor die Bildschirmanzeige
ausgeblendet wird. Helligkeit und Kontrast werden damit
auf die werkseitigen Einstellungen zurückgesetzt.
Wenn Sie sRGB als Farbeinstellung auf „EIN“ setzen,
werden die Werte für Helligkeit (¨) und Kontrast (>)
automatisch auf „31“ bzw. „85“ festgelegt.
Weitere Informationen zum sRGB-Modus finden Sie unter
„Die Bildschirmanzeige FARBE
“ auf Seite 9.
31 85
HELL IGKEI T / KONTRAST
ENDE
GRÖSSE / B I LDLG
GEOMETR I E
KONVERGENZ
FARBE
HILFE
LANGUAGE
OPT I ON
MENU
OK
68.7kHz / 85Hz
1024x 768
Einstellen des Monitors

Table of Contents

Related product manuals